logo elektroda
logo elektroda
X
logo elektroda
REKLAMA
REKLAMA
Adblock/uBlockOrigin/AdGuard mogą powodować znikanie niektórych postów z powodu nowej reguły.

Wyłącznik wentylatorów - jak zamontować? Schemat?

DUCH59 24 Maj 2008 11:07 2317 10
REKLAMA
  • #1 5174883
    DUCH59
    Poziom 10  
    Witam serdecznie posiadam w swojej budzie trzy wentylatory połączone ze sobą tzn. każdy ma wtyk i gniazdo molex. Do pierwszego wentyla mam połączony drugi do drugie trzeci a do trzeciego jest podłączone zasilanie molex. Moje pytanie polega na tym jak zamontować do tego zestawu wyłącznik. Interesowałby mnie wyłącznik trój pozycyjny 12V-0V-5V. Mógłbym prosić o jakiś schemat. Z góry dziękuje
  • REKLAMA
  • #2 5175051
    kar98k
    Poziom 11  
    Coś nabazgrałem w paincie mogłem w eaglu ale naprawdę nie miałem czasu.
    Wyłącznik wentylatorów - jak zamontować? Schemat?
  • REKLAMA
  • #3 5175414
    DUCH59
    Poziom 10  
    Bez urazy ale nie potrafię się rozczytać ;( . Chodziło mi o to czy nie dałoby się zamontować przełącznika na zasilaniu MOLEX łączącym się z wentylatorami??
  • #4 5175503
    holcer
    VIP Zasłużony dla elektroda
    Narysuj schemat jak są ze sobą połączone, to narysuję Ci gdzie - do czego - podpiąć przełącznik. Potrzebujesz do tego celu 3-pozycyjnego przełącznika 6-pin.
    Pozdrawiam
    Holcer
  • REKLAMA
  • #5 5175610
    DUCH59
    Poziom 10  
    Proszę bardzo
    Wyłącznik wentylatorów - jak zamontować? Schemat?
  • REKLAMA
  • Pomocny post
    #6 5175786
    holcer
    VIP Zasłużony dla elektroda
    Obrazek wklej zgodnie z tematem na forum przyklejonym: https://www.elektroda.pl/rtvforum/topic1014382.html
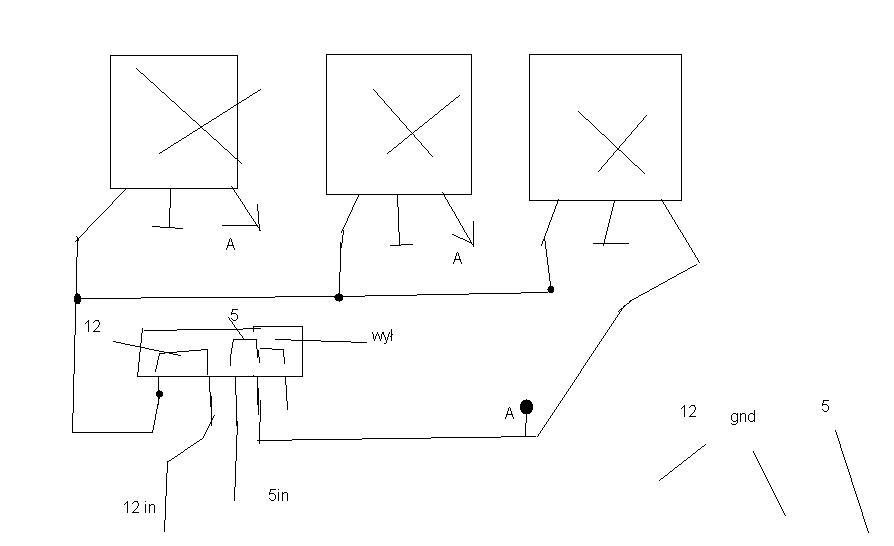
    Tak powinno być ok:
    Wyłącznik wentylatorów - jak zamontować? Schemat?
    Pod drugi "rząd" przełącznika proponuję podłączyć sobie diodę 2 kolorową, albo 2 diody i razem z przełącznikiem umieścić sobie tak, aby informowała/y Cię o ustawieniu :).
    Pozdrawiam
    Holcer
  • #7 5175921
    DUCH59
    Poziom 10  
    A teraz tak na chłopski rozum . Przełącznik w góre 12v przełącznik w dół 5v i środek wyłączone. Dobrze rozumiem??
  • #8 5175937
    elkard
    Poziom 36  
    Cytat:
    A teraz tak na chłopski rozum . Przełącznik w góre 12v przełącznik w dół 5v i środek wyłączone. Dobrze rozumiem??

    Właśnie tak.
  • #9 5176167
    DUCH59
    Poziom 10  
    a teraz jak podłączyć do tego diody?? Jedyne co wiem to, że muszą być z drugej strony. Czy muszą mieć stały minus i plus sterowany przez przełącznik. Jak rozpoznać przy diodzie który to minus a który plus??
  • #10 5176235
    elkard
    Poziom 36  
    Dłuższa końcówka diody to plus.
    Musisz pamiętać o zastosowaniu rezystora ograniczającego prąd diody. Jego wartość uzależniona będzie od napięcia jakim dysponujesz i od typu diody, (chodzi o napięcie przewodzenia diody, różne kolory mają różne napięcia).

    Dodano po 6 [minuty]:

    Podłącz plus zasilania do środkowej końcówki przełącznika, a skrajne poprzez rezystory do diod. Gdybyś zamierzał dać diody jednakowego koloru, to możesz dać tylko jeden rezystor. Wówczas daj go między plusem zasilania a tą środkowa nóżką przełącznika.
    Minusy diod połącz razem i do minusa zasilania.
  • #11 5176286
    holcer
    VIP Zasłużony dla elektroda
    Osobiście proponuję rozwiązanie z diodą 2 kolorową - ciekawiej wygląda ;). Podłączasz prawie tak samo. Jedynie musisz sprawdzić czy ma wspólną anodę, czy katodę. Jeśli potrzebujesz 2 diod, to podłączasz tak:
    Wyłącznik wentylatorów - jak zamontować? Schemat?
    Pozdrawiam
    Holcer
REKLAMA