logo elektroda
logo elektroda
X
logo elektroda
REKLAMA
REKLAMA
Adblock/uBlockOrigin/AdGuard mogą powodować znikanie niektórych postów z powodu nowej reguły.

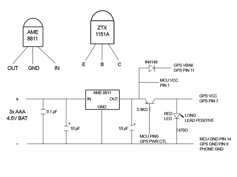
Open GPS Tracker (Atmel ATTINY84-20PU)

JIIIS 13 Lip 2008 11:48 8457 7
REKLAMA
  • Open GPS Tracker (Atmel ATTINY84-20PU)

    Open GPS Tracker to małe urządzenie, które można podłączyć do telefonu komórkowego i zamienić go w urządzenie śledzące położenie. Open GPS Tracker ma możliwość reagowania na przesyłane do niego tekstowe polecenia, wykrywania ruchu i przesyłania aktualnej pozycji gotowej do używania w mapach Google’a, czy podobnym oprogramowaniu. Firmware urządzenia jest na licencji open source, więc można go dostosować do własnych potrzeb.

    Budowę Open GPS Trackera oparto na następującym sprzęcie (w przyszłości planowane jest wsparcie dla innych modeli telefonów i GPS):

    - moduł GPS: Tyco Electronics A1035D
    - telefon: Motorola C168i AT&T GoPhone
    - mikrokontroler: Atmel ATTINY84-20PU

    Open GPS Tracker (Atmel ATTINY84-20PU) Open GPS Tracker (Atmel ATTINY84-20PU)

    Open GPS Tracker (Atmel ATTINY84-20PU) Open GPS Tracker (Atmel ATTINY84-20PU)

    Źródło: http://www.opengpstracker.org/index.html

    Fajne? Ranking DIY
    O autorze
    JIIIS
    Poziom 17  
    Offline 
    JIIIS napisał 246 postów o ocenie 21, pomógł 28 razy. Mieszka w mieście Kraków. Jest z nami od 2008 roku.
  • REKLAMA
  • REKLAMA
  • #3 5343406
    misiupan
    Poziom 35  
    Witam, z tego co przeczytałem to wydaje mi się ,że telefon można zastąpić innym , sam moduł gps też , telefon wysyła tylko dane na maila ,a gps to każdy starszy który był przypinany do coma - rs232 . Kwestia najważniejsza to zawartość procesora ATINY .Na aledrogo można kupić gotowy moduł gps za 59zł - kwestia podpięcia do telefonu i sterowania- sam telefon tego nie potrafi stąd ATINY pomiędzy , no i pewnie przetwarza dane na zrozumiały dla telefonu format .
  • #4 5343928
    adrian408
    Poziom 16  
    A czy ten moduł GPS co jest na Allegro za 59zł da rade zastosować zamiast tego oryginalnego co jest w projekcie???? Jaki najlepiej zastosować telefon???
  • REKLAMA
  • #5 5344839
    kasaidolar
    Poziom 19  
    Projekt bardzo fajny - szkoda ze nie da sie dostac podobnych gps... szukam gdzies od miesiaca albo dwoch i nic
  • REKLAMA
  • #6 5346375
    zydek89
    Poziom 12  
    moduly gps zmieniające większośc nowych telefonów w nawigacje można kupić na allego za troszke ponad 100 zl
  • #7 7638481
    bury104
    Poziom 13  
    Są gotowe moduły - nawet lepsze i mniejsze, tylko nie chce się przy googlach posiedzieć, nawet polski dystrybutor, który na całą europę wysyła.
    No to do roboty chłopaki google czekają.

    PZD!!!

    :D:D
  • #8 9514853
    X-X-X
    Poziom 1  
    Witam!
    Mam w zamiarze zrobić ten projekt, jednakże pojawia się problem z modułem GPS.
    Czy jakiś z tych modułów może zostać użyty jako zamiennik?
    http://www.tme.eu/html/PL/moduly-odbiornikow-gps-sirf-star-iii/ramka_4079_PL_pelny.html
    http://www.tme.eu/html/PL/miniaturowe-moduly-...472-firmy-origin-gps/ramka_8532_PL_pelny.html
    http://www.tme.eu/html/PL/moduly-gps-serii-org13xx-firmy-origingps/ramka_7372_PL_pelny.html
    Z góry dziękuje za pomoc
REKLAMA