Witam wszystkich.
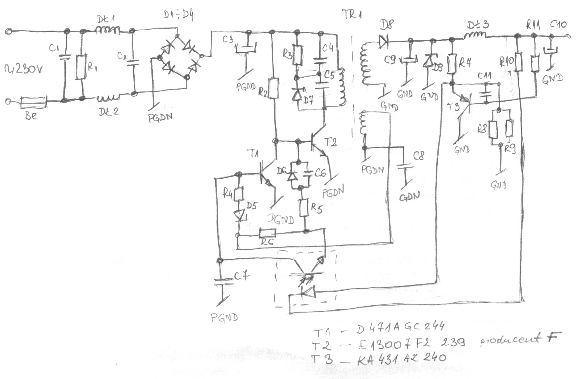
Mam w domku 3 popsute (spalone?)zasilacze impulsowe i mały problem, schematu do nich nigdzie nie znalazłem ale rozrysowałem sobie sam takowy, okazało się że chociażróżnych firm są prawie identyczne, teraz pytanie: co w nich sprawdzać i co się w nich mogło popsuć? Prościej mówiać mam trzy mam z nich próbować złożyć jeden? aLbo jakieś konkretne metody istnieją posprawdzania co padło? Dodam że na wyjściu nie ma nic, w jednym z nich w środku coś śmierdzi ale w sumie to nie wiem co
choć przypuszczam że tranzystor klucz (?).
Pozdrawiam i czekam na podpowiedzi.
Mam w domku 3 popsute (spalone?)zasilacze impulsowe i mały problem, schematu do nich nigdzie nie znalazłem ale rozrysowałem sobie sam takowy, okazało się że chociażróżnych firm są prawie identyczne, teraz pytanie: co w nich sprawdzać i co się w nich mogło popsuć? Prościej mówiać mam trzy mam z nich próbować złożyć jeden? aLbo jakieś konkretne metody istnieją posprawdzania co padło? Dodam że na wyjściu nie ma nic, w jednym z nich w środku coś śmierdzi ale w sumie to nie wiem co
Pozdrawiam i czekam na podpowiedzi.
