logo elektroda
logo elektroda
X
logo elektroda
REKLAMA
REKLAMA
Adblock/uBlockOrigin/AdGuard mogą powodować znikanie niektórych postów z powodu nowej reguły.

Mostek w 2 Ohm - mozliwe ?

fakamada 24 Lut 2009 11:45 2499 14
REKLAMA
  • #1 6196894
    fakamada
    Poziom 13  
    Witam . Jestem w posiadaniu wzmacniacza Crunch P4125.

    Jego dane:
    125W x 4-Ch @ 4-Ohms or
    250W x 4-Ch @ 2-Ohms or
    250W x 2-Ch @ 4-Ohms

    Pewnie dla niektórych jest to oczywiste ale dla mnie niebardzo i dlatego pytam. Czy jest jakaś mozliwość podłączenia subwoofera w mostku ale tak żeby miał przykładowo 500rms przy 2ohm zamiast 250rms przy 4 ohm (sub 4 ohmowy).

    Ew. jaki musiały być sub żeby była mozliwość takiego podłączenia ?
  • REKLAMA
  • #3 6196928
    cursor
    Poziom 30  
    fakamada napisał:
    Witam . Jestem w posiadaniu wzmacniacza Crunch P4125.

    Jego dane:
    125W x 4-Ch @ 4-Ohms or
    250W x 4-Ch @ 2-Ohms or
    250W x 2-Ch @ 4-Ohms

    Pewnie dla niektórych jest to oczywiste ale dla mnie niebardzo i dlatego pytam. Czy jest jakaś mozliwość podłączenia subwoofera w mostku ale tak żeby miał przykładowo 500rms przy 2ohm zamiast 250rms przy 4 ohm (sub 4 ohmowy).

    Ew. jaki musiały być sub żeby była mozliwość takiego podłączenia ?

    Wzmacniacz w mostku nie obsługuje impedancji 2ohm(minimalna to 4ohm), więc na większą moc w mostku też nie liczyłbym.
    Jedynym rozwiązaniem, żeby na głośnik poszło 500W z tego wzmacniacza to użycie głośnika dwucewkowego o impedancji 2x4ohm i podłaczenie każdej z cewek pod osobny mostek.
    Ale odradzam robienie czegoś takiego. Bardzo łatwo uszkodzić głośnik w ten sposób.
  • #4 6197665
    fakamada
    Poziom 13  
    Ok. Dzięki za odp.

    A dlaczego miałby się uszkodzić dwucewkowiec gdyby dodtał 2x bridged ?
  • REKLAMA
  • #5 6197815
    wasylwek
    VIP Zasłużony dla elektroda
    Wytłumaczenie jest w miarę proste i wnoszę jeszcze małą poprawkę bardziej ..."oberwie" się wzmacniaczowi niż głośnikowi . Jako wytłumaczenie zjawiska przytoczę kilka pojęć o których poczytasz w sieci, bedzie szybciej.
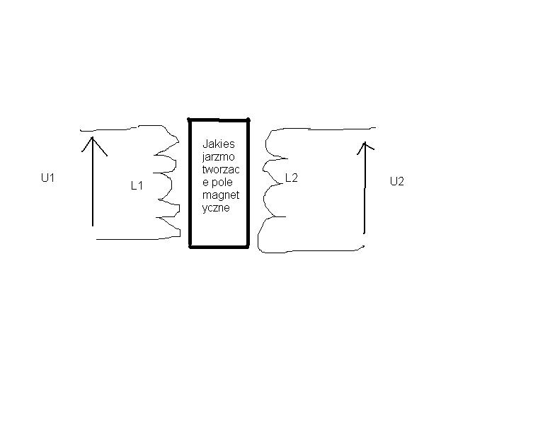
    Transformator - zasada działania.
    Indukcja elektomagnetyczna - istota zjawiska.
    Nierównomierność przenoszenia kanałów (parametr wzmacniacza).
    Przestudiowanie tych pojęć naświetli Ci istotę problemu.
  • REKLAMA
  • #6 6198184
    piter1984
    Poziom 15  
    Sylwek i co z tym transformatorem ? Jedyne usprawiedliwienie jakie wymyśliłem to to że prąd wywołuje ciepło dodając się skalarnie zaś chłodzenie dodaje się wektorowo.
    Pomijając to że są konstrukcje 3 i pół drożne gdzie jedna cewka, 2-cewkowego głośnika jest filtrowana inaczej od 2giej
  • #7 6198372
    wasylwek
    VIP Zasłużony dla elektroda
    Oj za mocno drążysz (z tymi skalarami i wektorami nie będę nawet ściemniał bo nie wiem o co w tym biega, bez bicia przyznaję ... za mały jestem :D )
    Jeżeli w jednym uzwojeniu zmienia się prąd (wartość lub kierunek) druga sprawa cewka rusza się w stałym polu magnetycznym (dodatkowe indukcje) =>> to wywołuje w drugiej cewce ( są na jednym karkasie) idukowanie sie SEM i vice versa. Przypominam, że ten wyindukowany sygnał "cofa się" w kierunku wzmacniacza ( w opcji stereo).
    Jeżeli sprowadzisz obie pary zacisków (czy to szeregowo czy równolegle) do jednego punktu masz...względny spokój z tymi sprawami.
    Pomijam albinosy typu wywołane przez Ciebie układy 3 i pół czy inne układy.
    Sprawa ma się do DWUCEWKOWYCH subwooferów (przeważnie) co za tym idzie operujemy na nich sporymi wartościami napięcie i prądu i nie mozna tego ignorować.
    Chyba nie będziesz obalał pewnika, że pan Tesla coś odkrył :D .
    P.S. kocham takie tematy :D .
  • #8 6198703
    piter1984
    Poziom 15  
    No ja też lubię, zwłaszcza jak obalam zastane mity :P
    Długo się generalnie nad tym zastanawiałem, ale może czegoś nie wziąłem pod uwagę.
    To że się indukuje to trudno, nie są to jakieś wielkie napięcia (nie zapominaj że operujemy na niskich częstotliwościach które gorzej się przekazuje przez indukcję, a dodatkowo mamy kiepski magnetowód do przenoszenia sprzężenia)
    generalnie napięcie może się też indukować jeżeli np zawieszenie bądź obudowa "wciąga" membranę szybciej od zmiany sygnału, od tego chyba jest parametr tłumienia wzmacniacza, dobrze go nazwałem ?
    No i nic mu raczej nie będzie jeżeli jeżeli nie przesadzamy z mocą, przyznam się że u mnie gra tak już dość długo :P
  • #9 6199346
    wasylwek
    VIP Zasłużony dla elektroda
    Cytat:
    To że się indukuje to trudno, nie są to jakieś wielkie napięcia (nie zapominaj że operujemy na niskich częstotliwościach które gorzej się przekazuje przez indukcję, a dodatkowo mamy kiepski magnetowód do przenoszenia sprzężenia)

    Tu się nie zgadzam większość napięcia , prądu "przemysłowego" nawet u Ciebie i u mnie w domu który dociera ma częstotliwość ile? :D 50 Hz (doskonale wiesz jakie to piękne akustyczne "buczenie") w Stanach bodaj mają 100Hz . Właśnie takie "herce" mądrzejsi od Nas postanowili przesyłać i przerabiać w miliardach domowych urządzeń (trafa), raczej mieli w tym cel :D .
    Już nadmieniałem, że mówimy o subwooferach gdzie w skrajnych przypadkach (hi hi dążenie 90% userów forum) mamy do czynienia z mocą 1000W gdzie przy założonym napięciu przetwornicy ± 35 V i przyjętej impedancji (opór) "wymuszany" jest przepływ prądu rzędu... policz sobie z prawa Ohma ale duży wyjdzie.
    Juz mi sie nasuwa skojarzenie z doświadczeniem co robią dwa przewody kiedy tak duże prądy przez nie płyną ano... tańcują.
  • #10 6203462
    piter1984
    Poziom 15  
    W USA jest 60 Hz, co do tych mocy to owszem przy 5x500W i 2 ohm popłynie te <15A które coś tam wyindukuje, ale:
    1. jeżeli są różnice w sygnale
    2. jeżeli tej mocy jest naprawdę dużo (mój wzmacniacz podaje na suba 2x75W i powiem szczerze że auto już ma dość, w środku ciężko wysiedzieć
    3. przy normalnym słuchaniu na głośniki idzie ile, 1W ?? 3W na suba ?
    3. czy te 1000W naprawdę trafia do głośnika ?

    więc owszem do dBdragów można podpinać je szeregowo lub równolegle ale do normalnego wartość wyindukowana jest po prostu mała, nawet dla tych 2x500W (31V zasilania cewki 1), napięcie na 2. cewce będzie wynosić ~3V co przy 30 owszem jest tymi 10% które przy asymetrii mogą spowodować przepalenie. ale w normalnych warunkach gdzie sub dostaje ~30W i ma np 4 ohm na cewkę jest to bardzo mało prawdopodobne
  • #11 6206254
    wasylwek
    VIP Zasłużony dla elektroda
    piter1984 napisał:
    W USA jest 60 Hz, co do tych mocy to owszem przy 5x500W i 2 ohm popłynie te <15A które coś tam wyindukuje, ale:
    1. jeżeli są różnice w sygnale

    Zupełnie tego nie rozumiem ... rozwiń proszę.
    Cytat:
    2. jeżeli tej mocy jest naprawdę dużo (mój wzmacniacz podaje na suba 2x75W i powiem szczerze że auto już ma dość, w środku ciężko wysiedzieć
    3. przy normalnym słuchaniu na głośniki idzie ile, 1W ?? 3W na suba ?
    3. czy te 1000W naprawdę trafia do głośnika ?

    Ano czym by były teoretyczne rozważania i prawa gdyby w Twoją myśl zajmować się nimi kiedy jest 30V a dla 30mV zupełnie je ignorować?
  • REKLAMA
  • #12 6207012
    piter1984
    Poziom 15  
    Sylwek napisał:
    piter1984 napisał:
    W USA jest 60 Hz, co do tych mocy to owszem przy 5x500W i 2 ohm popłynie te <15A które coś tam wyindukuje, ale:
    1. jeżeli są różnice w sygnale

    Zupełnie tego nie rozumiem ... rozwiń proszę.

    no jeżeli nie ma różnic to tak jakby była to praktycznie jedna cewka, mamy po prostu mechaniczny sumator
    Sylwek napisał:
    Cytat:
    2. jeżeli tej mocy jest naprawdę dużo (mój wzmacniacz podaje na suba 2x75W i powiem szczerze że auto już ma dość, w środku ciężko wysiedzieć
    3. przy normalnym słuchaniu na głośniki idzie ile, 1W ?? 3W na suba ?
    3. czy te 1000W naprawdę trafia do głośnika ?

    Ano czym by były teoretyczne rozważania i prawa gdyby w Twoją myśl zajmować się nimi kiedy jest 30V a dla 30mV zupełnie je ignorować?
    [/quote]
    no jak jest 30mV to max co się wyindukuje to np 3mV a przy 4 ohm jeszcze mniej
  • #13 6207283
    wasylwek
    VIP Zasłużony dla elektroda
    Dlaczego odwracasz kota(Alika :D )ogonem ?
    Jeżeli cewki są GALWANICZNIE odseparowane od siebie wyindukuje się na nich SEM nie ma bata, że nie , mało tego każda wyindukowana SEM na jednej z nich oddziałowuje na drugą (istota naszej dyskusji).
    Poza tym głośnik jako urzadzenie stanowi magnes, źródło pola magnetycznego więc...wystarczy tylko poruszyć choćby jedną z cewek by wyindukować coś w drugiej :D to , że sie jednakowo poruszają to zupełnie inna sprawa (fazy tu bym sie zagłębiał, reguły którejs tam dłoni etc.), zgadza się ?
    No tak rozumiem, jeżeli 30mV to tylko 3 mV sie wyindukuje i należy to pominąć? Nie rozumiesz mojego przesłania (rozważamy teoretyczne działanie zjawiska indukcji elektromagnetycznej, nie wartości) bo jeżeli zero volt to nic sie nie dzieje i nie ma ...niczego :D , więc po co się tym w ogóle zajmować :D .
    Mostek w 2 Ohm - mozliwe ?
  • #14 6360710
    fakamada
    Poziom 13  
    Hej. Dopowiedzcie mi tylko czy pod tego Cruncha moge podpiąć
    DVC 2x2 Ohm ?

    Już kupiłem przetwornik a nie spytałem czy w ogóle taki zestaw ma prawo działać ? !

    HELP !

    PS. nie wiem czy to cos zmienia ale prawidłowe dane których w końcu doszukałem sie w sieci to:

    Jego dane:
    125W x 4-Ch @ 4-Ohms or
    250W x 4-Ch @ 2-Ohms or
    500W x 2-Ch @ 4-Ohms

    Dumping Factor - DF>150

    Czy to cos zmienia ?

    Przetwornik to JL Audio 10W3v2 - 300RMS Czy dobrze zagra na wzmaku o takich parametrach ?
  • #15 6360974
    powalla
    Moderator CarAudio
    Słuchaj poszukaj na forum tematów o głośnikach 2 cewkowych, bo pisać znów to samo nie ma sensu, a że Tobie nie chce się szukać i czekasz na gotowce, to już Twój problem!

    PS: jak to zagra , to sam stwierdzisz jak podłączysz, a w parametry Cruncha bym raczej nie wierzył, bo podają je ze sporą nadwyżką
REKLAMA