logo elektroda
logo elektroda
X
logo elektroda
REKLAMA
REKLAMA
Adblock/uBlockOrigin/AdGuard mogą powodować znikanie niektórych postów z powodu nowej reguły.

Akumulator Centra

thomson_1990 13 Mar 2009 11:44 5343 25
REKLAMA
  • #1 6275650
    thomson_1990
    Poziom 10  
    Witam
    Akumulator 55AH firmy CENTRA kupiny pół roku temu
    A więc przedwczoraj rozładował się więc podłaczyłem go na noc pod prostownik i tu moja wina bo połączyłem go na noc i zapomniałem rano odłączyć :evil: gdy mi się przyponiało mineło może z 15 godzin od podłączenia, akumulator był ciepły i kapała z niego woda.
    Po jakimś czasie włożyłem go do auta i samochód palił elegancko
    Wczoraj uzupełniłem wodę destylowaną jak nalezy i ładuje
    z pare godzin, wkładam do samochody podłączam i rozrusznik kręci bardzo sałabo i przez chwile.

    Akumulator po naładowaniu ma prawie 12.89v

    Akumulator jeszcze niedawno był w super stanie

    A jeśli dałbym go na gwarncje to czy by mi ją uznali?
  • REKLAMA
  • #2 6275701
    viper555
    Poziom 39  
    Zjechała masa i po akumulatorze ale nie musi to być powód ładowania prostownikiem wystarczy że w samochodzie jest niskie ładowanie. O reklamacji zapomnij.P
  • #3 6275748
    thomson_1990
    Poziom 10  
    Dzisiaj po ponownym ładowaniu spaliłem rozrusznik
    Więc chyba akumulator w porządku bo zakręcił 2 razy z wielkim oporem
    a chwile potem chmura dymu i po rozruszniku

    Bo wydaje mi się ze chyba spora moc jest potrzebna aby spalić ten rozrusznik

    A jeśli to rozrusznik to wie może ktoś co najprawdopodobniej do wyrzucenia
    Pytam bo jeśli to tylko uzwojenie to bym teraz sobie je załatwił i jutro już bym śmigał.
  • REKLAMA
  • Pomocny post
    #4 6278413
    mosiek2206
    Poziom 13  
    Witam akumulator ładowałeś dobrze co to jest 15 godzin aby w pełni naładować akumulator powinien sie ładować 60 godzin
    oczywiście z odpowiednim natężeniem prądu w tym przypadku 5,5
    A wiec akumulator masz jak najbardziej w porządku i pamietaj żeby podczas ładowania odkręcać korki A w rozruszniku to jak ci taki opór stawia to musisz mu na 100% wymienić tulejki i przy okazji szczotki też bo na pewno są już na wykończeniu. A jak zadymił to pewnie uzwojenie pewnie jak zrobiło zwarcie mogło uszkodzić bendiks ale to sie okaże jak naprawisz rozrusznik i nie będzie chciał zazębić sie z kołem zamachowym

    Moderowany przez robokop:

    Ostrzeżenie za wypisywanie głupot, szkodliwych porad i nieznajomość zagadnień o których się pisze - regulamin pkt. 8.1, 12.

  • #5 6280831
    Konto nie istnieje
    Konto nie istnieje  
  • #6 6280849
    viper555
    Poziom 39  
    Takie gdybanie do niczego nie prowadzi ,przecież chodziło o akumulator a tu się okazuje że samochód jakiś szrot nawet nie wiadomo jaka marka przebieg nic -jak zawsze.P
  • #7 6280854
    adamo396
    Poziom 15  
    Jeśli poszły dymy to raczej napewno uzwojenie na wirniku,być może że stojan dobry ale też niebardzo przy remoncie oczywiście tulejki i szczotki nowe
  • #8 6280892
    robokop
    VIP Zasłużony dla elektroda
    thomson_1990 napisał:

    A więc przedwczoraj rozładował się więc podłaczyłem go na noc pod prostownik i tu moja wina bo połączyłem go na noc i zapomniałem rano odłączyć :evil: gdy mi się przyponiało mineło może z 15 godzin od podłączenia, akumulator był ciepły i kapała z niego woda.


    Zagotowałes akumulator - ładowany zbyt dużym prądem, ewentualnie przy przekroczonym napięciu ładowania. Zniszczone termicznie płyty z masą czynną, akumulator na złom, gwarancja tego nie uznaje. A rozrusznik został po prostu zamęczony - napięcie było niewystarczające do wytworzenia w wirniku odpowiedniego strumienia magnetycznego pozwalającego go obrócić, przepływ kilkuset A przez nieruchome uzwojenie załatwił sprawę.
  • #9 6282005
    Zapp
    Poziom 11  
    no dokładnie jak kolega wyżej napisał... ja choc nie w samochodzie ale w skuterze miałem podobnie tyle że to była żyleta akumulator bo kiedys nie mialem o ładowaniu zielonego pojęcia i podłączyłem pod co mialem prad ładowania w p***u za duzy i zapomnialem o nim i sie ladowal 2 dni gdy odlaczylem to jeszcze przez 2 min sie gotował ale nic nie ciekneło co mnie zaskoczyło :) akumulator był sprawny jeszcze przez 2 lata ale teraz go naładowałem zgodnie z parametrami jakimi się to powinno robić i lipa akumulator na złom, przy tym ładowaniu trzeba bardzo uwazac co prawda do samochodu jak ładuję to przez około 8-10 godzin prądem 4A(40ah akumulator) i nie wykręcałem korków bo są pod jakąś plastykową osłoną i jest ponoć bezobsługowy więc... wiem wiem korki się odkręca dla odpowietrzania, ale mojemu nic sie nie dzieje ew. jeżeli się mylę bardzo prosze mnie poprawic, ponieważ przy okazji się dowiem czegos nowego a to bardzo lubię :)

    Ale mysle, ze kazdy musi cos spiepszyc zeby później byc dobrym fachowcem teraz będziesz miał nauczkę na przyszłość :)
    bo przecież akumulator to nie są aż takie grosze bo bodajze za 55 ah cos kolo 250-300zł taki lepszy kosztuje
  • REKLAMA
  • #10 6282622
    gimak
    Poziom 41  
    Kolego Zapp, jeżeli zawsze ładujesz akumulator tak jak to opisałeś 4A x 10godzin to na pewno często go przeładowujesz, bo raczej nie wiesz jak mocno był akumulator rozładowany jak go podłączasz pod prostownik. Dlatego najzdrowsze dla akumulatora samochodowego stworzenie mu takich warunków ładowania jak w samochodzie, czyli stałe napięcie ładowania 14.5V (stałonapięciowe). Wtedy akumulator bierze tyle prądu ile potrzebuje, jak się naładuje to pobiera prąd bliski zera, nie grozi mu przeładowanie - można go spokojnie zostawić nawet na miesiąc podłączony do takiego prostownika. Nie trzeba odkręcać żadnych korków (jak jest ładowany w samochodzie przez alternator lub prądnicę korki sa zakręcone).
    To jest tak proste, że aż trudne do pojęcia.
    Napisałem to bo piszesz, że chcesz czegoś nowego się dowiedzieć - to jest stare, ale jakoś mało kto o tym pamięta.
  • #11 6284269
    mosiek2206
    Poziom 13  
    Może mi ktoś wyjaśni kwestie tego ostrzeżenia jeżeli admin nie ma pojęcia to może niech nie wystawia upomnień przy ładowaniu prostownikiem automatycznym wskazane jest ładowanie około 60 godzin gdyż akumulator jest wtedy ładowany stopniowo to zapobiega gotowaniu elektrolitu a natężenie jakim sie ładuje jest to 1/10 pojemności akumulatora wiec co jest w tym źle jak to określono co jest w tym głupiego. Lub co jest dziwnego w tym że jak rozrusznik to spaliło sie uzwojenie?? Może niech administrator nie pisze głupot a nie ja a co so wypowiedzi kolegi jaworskiauto a bendiks to co to jest jak nie elektromagnes??
  • REKLAMA
  • #12 6284647
    viper555
    Poziom 39  
    Słuchaj sprawa jest nie klarowna z tymi 60-ma godzinami trochę przesadziłeś zaznaczając prąd ładowania 5.5A. W praktyce to oznacza o naładowaniu akumulatora w ciągu około 12 godzin. Tak samo bendix to nie elektromagnes jak niektórzy mylą ale zespół sprzęgający rozrusznika. Ponadto jak wspomniałem nie wiemy jaki samochód jaki rozrusznik czy z magnesami stałymi czy z cewkami stojana. Zasadniczo elektromagnes przy startowaniu nigdy się nie spali bo to za krótki czas, natomiast wystarczy że do rozrusznika dostało się trochę oleju i efekt będzie jaki jest.P
  • #13 6285325
    Konto nie istnieje
    Konto nie istnieje  
  • #14 6287688
    Banasiewicz02
    Poziom 31  
    Stanowczo odradzam praktyki z ładowaniem akumulatora zwykłym prostownikiem powyżej czasu jaki jest potrzebny do naładowania prądem 1\10.Osobiście celowo sprawdziłem(zajmuję się regeneracją akumulatorów) co się stanie z akumulatorem podłączonym pod zwykły prostownik dłużej niż czas naładowania(celowo akumulator został wyładowany do 10 voltów aby czas był wyliczony dobrze)Akumulator został pozostawiony beztrosko,po 12 godzinach akumulator już bardzo intensywnie gazował,po 24 godzinach był dosyć ciepły a po 36 godzinach elektrolit zmienił kolor na brązowy co oznacza nieodwracalne uszkodzenie akumulatora(opad masy czynnej z płyt dodatnich)Dlatego lepiej akumulator nie doładować aniżeli przeładować.
  • #15 6287962
    gimak
    Poziom 41  
    Banasiewicz02 napisał:

    Dlatego lepiej akumulator nie doładować aniżeli przeładować.

    Całkowicie się z tym stwierdzeniem zgadzam i dlatego doładowuję moje akumulatory najprostszym prostownikiem jaki można sobie wyobrazić - trafo z napięciem po stronie wtórnej 12V (faktyczne - bez obciążenia), dioda lub mostek prostowniczy i ewentualnie amperomierz 10A.
    Napięcie szczytowe wtedy wynosi 17V. Prąd doładowania takim napięciem pulsującym (ładowanie po szczytach tak to się kiedyś nazywało) przy naładowanym akumulatorze jest o wiele mniejszy niż prąd konserwujący.
  • #16 6290613
    thomson_1990
    Poziom 10  
    Akumulator sprawdzony na innym samochodzie i jest wporządku (kumpel jezdzi na nim od wczoraj i nienarzeka) Wygląda na to że to tylko rozrusznik :D

    (możliwe że to już niebedzie ten sam akumulator co wczesniej ale trudno)
  • #17 6290865
    mosiek2206
    Poziom 13  
    viper555 napisał:
    Słuchaj sprawa jest nie klarowna z tymi 60-ma godzinami trochę przesadziłeś zaznaczając prąd ładowania 5.5A. W praktyce to oznacza o naładowaniu akumulatora w ciągu około 12 godzin. Tak samo bendix to nie elektromagnes jak niektórzy mylą ale zespół sprzęgający rozrusznika. Ponadto jak wspomniałem nie wiemy jaki samochód jaki rozrusznik czy z magnesami stałymi czy z cewkami stojana. Zasadniczo elektromagnes przy startowaniu nigdy się nie spali bo to za krótki czas, natomiast wystarczy że do rozrusznika dostało się trochę oleju i efekt będzie jaki jest.P


    Jak byś znał podstawową budowę bendiksu to byś nie pisał takich głupot że bendiks to nie elektromagnes a jaworskiauto auto jak nie ma pojęcia to niech nie potwierdza tych bredni bo bendiks czyli urządzenie sprzęgające to nic innego jak uzwojenie wciągające i uzwojenie trzymające które chcąc niechcąc są elektromagnesem i one z kolei pociągają dźwignie prowadnicy która przesuwa widełki pierścienia prowadnicy tym samym sprzęgając rozrusznik z kołem zamachowym. to teraz tobie sie należy ostrzeżenie za pisanie głupot i wprowadzanie ludzi w błąd. Chciał bym je zobaczyć w twoim profilu.
    A i jeszcze jedno mógł sie dostać olej do rozrusznika?? pewnie sie komuś bańka 5 litrów przewróciła która wodził na silniku bo nikt normalny nie jeździ autem które by miało takie wycieki oleju żeby aż dostał sie od rozrusznika bo po przejechaniu 20 kilometrów by miał sucho w misce olejowej.
  • #18 6290970
    viper555
    Poziom 39  
    Słuchaj daję Ci 1000zł jeżeli moje to brednie a twoje prawda.P
  • #19 6291097
    mosiek2206
    Poziom 13  
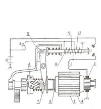
    Akumulator Centra
    Dokładnie to chodzi o uzwojenie 12 i 13 czyż to nie elektromagnes? Jeżeli jednak twoje to prawda to wytłumacz na jakiej podstawie. A jak nie to czekam na te 1000 zł na pewno sie przyda:)
  • #20 6291193
    ociz
    VIP Zasłużony dla elektroda
    thomson_1990 napisał:
    Akumulator sprawdzony na innym samochodzie i jest wporządku (kumpel jezdzi na nim od wczoraj i nienarzeka) Wygląda na to że to tylko rozrusznik :D

    Nie koniecznie, niektóre rozruszniki potrzebują mniej prądu a niektóre więcej.
    Przkładowo robiłem ostatnio żuka :D akumulator w nim śmieć i w dodatku był niedoładowany ale starczyło mu prądu na pomiar kompresji i jeszcze potem odpalił. Pużniej go naładowałem do pełna i włożyłem do forda tranzita bo pomyślałem że dobrze naładowany to odpale tego trupa bez problemu a tu zonk, nawet raz nie obrócił :D.

    :arrow: mosiek2206 zapomnij o tym tysiaku bo pierdoły piszesz
  • #21 6291275
    mosiek2206
    Poziom 13  
    wszyscy piszecie ze pisze pierdoły tylko nigdy nie możecie powiedzieć co pisze źle schemat który dałem chyba mówi sam za siebie to wytłumaczcie to żebym mógł wam przyznać rację.
  • #22 6291344
    thomson_1990
    Poziom 10  
    [quote="ociz"]
    thomson_1990 napisał:

    Przkładowo robiłem ostatnio żuka :D akumulator w nim śmieć i w dodatku był niedoładowany ale starczyło mu prądu na pomiar kompresji i jeszcze potem odpalił. Pużniej go naładowałem do pełna i włożyłem do forda tranzita bo pomyślałem że dobrze naładowany to odpale tego trupa bez problemu a tu zonk, nawet raz nie obrócił :D.



    No jesli tak, to już by chyba było za dużo tych zebiegów okolicznosci :D
  • #23 6291483
    ociz
    VIP Zasłużony dla elektroda
    mosiek2206 napisał:
    wszyscy piszecie ze pisze pierdoły tylko nigdy nie możecie powiedzieć co pisze źle schemat który dałem chyba mówi sam za siebie to wytłumaczcie to żebym mógł wam przyznać rację.

    Bendix to element nr 8 na tym rysunku.
  • #24 6292949
    mosiek2206
    Poziom 13  
    haha nr 8 to akurat wielowypust śrubowy idź chłopie do sklepu i poproś o bendiks zobaczysz co ci da takie urządzenie do którego podłączasz masę z rozrusznika i plus widzę że ty zasilanie podpinasz do wielowypustu.
  • #25 6293149
    viper555
    Poziom 39  
    http://staszekel.ulotka.biz/
    Przeczytaj sobie jak umiesz czytać i nie rób większego idioty z siebie jak jesteś. Nie rozumiem dlaczego tego nikt nie zamknie albo wyrzuci do kosza.P
REKLAMA