logo elektroda
logo elektroda
X
logo elektroda
REKLAMA
REKLAMA
Adblock/uBlockOrigin/AdGuard mogą powodować znikanie niektórych postów z powodu nowej reguły.

Puzzlemation - interaktywne puzzle

farmazon3000 18 Maj 2009 00:19 4601 1
REKLAMA
  • Puzzlemation - interaktywne puzzle

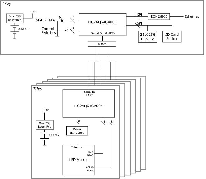
    Puzzlemation to urządzenie które łączy w sobie puzzle z kolorowymi wyświetlaczami LED. Interesujące jest to, że układ poszczególnych segmentów można zmieniać za pomocą, wgrywanych do pamięci sterujących układów, sekwencji.

    Dwa główne komponenty to: jedna podstawka i kilka segmentów które mogą być na niej rozmieszczone. Każdy segment składa się z matrycy LED 8x8, ma osobne zasilanie z dwóch baterii AAA i przetwornicy (boost) oraz zawiera jeden mikrokontroler PIC.

    Podstawka także zawiera mikrokontroler PIC, który odbiera komendy przez Ethernet, zapisuje animacje do EEPROMu lub na kartę SD a następnie steruje poszczególnymi segmentami przez UART.

    Puzzlemation - interaktywne puzzle

    Film w paczce źródłowej.

    Źródło:
    Link

    Fajne? Ranking DIY
    O autorze
    farmazon3000
    Poziom 15  
    Offline 
    farmazon3000 napisał 259 postów o ocenie 25, pomógł 3 razy. Jest z nami od 2005 roku.
  • REKLAMA
REKLAMA