logo elektroda
logo elektroda
X
logo elektroda
REKLAMA
REKLAMA
Adblock/uBlockOrigin/AdGuard mogą powodować znikanie niektórych postów z powodu nowej reguły.

Przedwzmacniacz gramofonowy z pasywną korekcją RIAA

emaker 21 Paź 2009 15:53 7215 0
REKLAMA
  • Przedwzmacniacz gramofonowy z pasywną korekcją RIAA
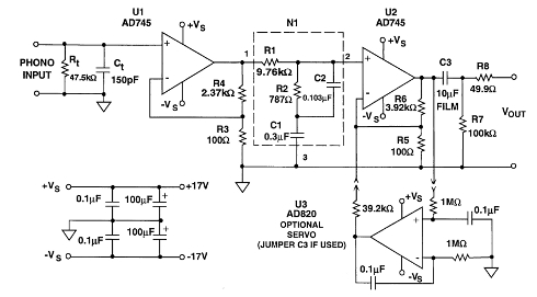
    Wyżej przedstawiony schemat przedwzmacniacza RIAA opiera się na dwu stopniach wzmacniających i filtra RC umieszczonego pomiędzy nimi (o stałych 3180 u, 318 u i 75 u). Wzmocnienie układu dla częstotliwości 1 kHz wyrażone jest wzorem: G = 0,101*(1 + R4/R3)*(1 + R6/R5). Dobór wzmacniaczy operacyjnych jest bardzo istotny, zwłaszcza dla pierwszego stopnia U1. Powinien on charakteryzować się niskim poziomem szumów i zapewniać wysokie napięcie wyjściowe z uwzględnieniem odpowiedniego odstępu od przesterowania dla wielkich częstotliwości. W pasywnym filtrze N1, oznaczonym linią kreskowaną, tłumienie dla częstotliwości 20 kHz wynosi 40 dB. Układ ten można zastosować zarówno dla wkładek MM jak i MC. Dla tych drugich najczęściej potrzebne jest większe wzmocnienie napięciowe. Zwiększając ten parametr należy pamiętać o tym, aby nie doszło do przesterowania pierwszego stopnia wzmacniającego. Charakterystyka częstotliwościowa tego przedwzmacniacza jest bardzo zbliżona do referencyjnej charakterystyki wg krzywej RIAA. Jeśli użyjemy elementów pasywnych o wąskich tolerancjach, odstępstwa od krzywej odniesienia nie przekroczą +/- 0,02 dB. Schemat ten przedstawia dwa rozwiązania układu wyjściowego. W celu usunięcia składowej stałej na wyjściu, można zastosować kondensator wyjściowy albo układ serwa stałoprądowego.

    Źródło: „Op-amp applications” Walt Junger, Walt Kester, Chapter 6, s. 6.24

    Fajne? Ranking DIY
    O autorze
    emaker
    Poziom 12  
    Offline 
    Specjalizuje się w: elektroakustyka, akustyka
    emaker napisał 85 postów o ocenie 69. Mieszka w mieście "-". Jest z nami od 2009 roku.
  • REKLAMA
REKLAMA