logo elektroda
logo elektroda
X
logo elektroda
REKLAMA
REKLAMA
Adblock/uBlockOrigin/AdGuard mogą powodować znikanie niektórych postów z powodu nowej reguły.

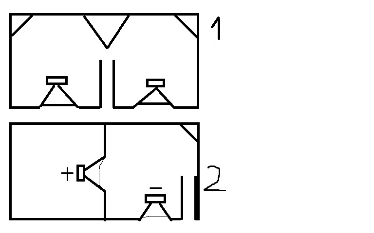
Pomysł na skrzynie do dwóch głośników. Czy to zagra?

Elliash 16 Lis 2009 14:37 2931 15
REKLAMA
  • #1 7268171
    Elliash
    Poziom 10  
    Witam.

    Chcę zbudować subwoofer oparty na dwóch głośnikach JBL.
    Zastanawiam się między modelami gt5 12 lub gt5 15

    Wzmacniacz będe miał sinuslive sla 1500

    Pomysł na skrzynie do dwóch głośników. Czy to zagra?

    Skrzynie, które narysowałem w 1 obrazku widziałem, że budują.
    Lecz ta z obrazu drugiego bardzo mnie urzekła i ciekaw jestem czy by to faktycznie grało tak jak myśle : czyli głośniki w jednej komorze produkują duże ciśnienie wyrzucane przez bass reflex a druga komora jest zamknięta ( domyślam się że przez to bedzie dawać szybszy bas)

    Wiec moje pytanie brzmi czy ktoś kiedyś robił taką skrzynie i jak to gra?

    Ogólnie zależy mi na tym żeby bas schodził nisko i przy tym nie był spóźniony tak bardzo.

    Pozdrawiam
    Elliash

    Jak by ktoś doradził inne głośniki w tej cenie lub jakieś inne pomysły dotyczące zbudowania skrzyni to bardzo proszę o posty.
  • REKLAMA
  • #2 7268200
    matiaudio
    Poziom 35  
    38cm to zamulacz, będzie bardzo wolny. Lepiej 30cm.
  • REKLAMA
  • #3 7268251
    Mihas66
    Poziom 22  
    Bandpass... poczytaj o tych obudowach nawet w winisd można je w jakiś szacunkowy sposób policzyć... Ta pierwsza to zwykła closed tylko z 2 głośnikami...
  • #4 7268256
    Elliash
    Poziom 10  
    Dzięki za odpowiedz, też mi się wydawały trochę za duże te 38cm jak na bagażnik w Fabii i tak jak mówisz 30 powinny być ok. Tylko właśnie ta skrzynia mnie najbardziej nurtuje. Ewentualnie tą zamkniętą komorę można będzie zrobić mniejszą bo z rysunków wydają się być takie same.
  • REKLAMA
  • #5 7269392
    buko06
    Poziom 20  
    Ja zamiast Gt5 12 kupił bym JBL GTO 1214 mocniejszy model.

    Jeżeli masz kase na gt5 15 to w tej samej cenie jest JBL 1214 30cm.

    Ja osobiście miałem 2sztuki gt5 12 i 2sztuki GTO 1214 rożnica jest odczuwalna bo bardziej gniotą.
    Jeżeli chodzi o ciśnienie jakie wytwarzają w samochodzie nie zwracając uwage na jakość itp to są bezkonkurencyjne w swojej klasie cenowej.

    Skrzynie jakie osobiście bym proponował to 2 komorową po 30L Closed.
    Albo 2 komorową szczeline po 50L na głośnik.

    I teraz tak w skrzyni zamkniętej JBL gra ciszej, szybciej i milej dla ucha nie buczy tak ;)

    W skrzyni szczelinowej gra dużo głośniej,mocniej nie powiem bo daje mocno po uszach.Tylko troszeczke buczy (kwestia dobrego wyregulowania)

    Ogółem z ok 40 głośników które posiadałem w kwocie do 700zł
    JBL grały najmocniej i najgłośniej ;)
  • #6 7269692
    Elliash
    Poziom 10  
    Prawda więcej RMSU mają te GTO 1214 :D
    Ale własnie oglądałem na allegro głosniki do 900zł i tak mi sie nasuneła myśl czy jest sens robic tego suba podwójnego bo to wiecej hałasu chyba z trzęsącego sie samochodu niż czystego basu :)

    Mając taki lepszy głośnik podchodzący pod hi end są jakies konkretne wymagania na wzmacniaczach zeby wydusić z niego cały potencjał ? (nie chodzi mi tutaj o moc)
  • #7 7269724
    matiaudio
    Poziom 35  
    Za 900zł kupisz naprawdę dobry głośnik. Najlepiej dwucewkowy i spiąć na 2ohm pod tego sla1500, ewentualnie na 1ohm. Ten sla1500 ma coś koło 1000W rms przy 1ohm, i coś koło 600-700W rms przy 2ohm, więc głośnik szukać podobnej mocy.
  • REKLAMA
  • #8 7269786
    matiaudio
    Poziom 35  
    Nie słyszałem tego głośnika ale nie polecam. Proponuje coś z RE AUDIO , JL AUDIO, ROCKFORDA, HERTZ, POWERBASS.
  • #9 7269799
    sanders156
    Poziom 35  
    Twoj wzmak pozwole sobie zauwarzyc ze dysponuje duza moca ale tragiczna kontrola ( DF ) I to niestety slychac pozatym w zadnym wypadku nie jest to jakosciowy wzmak

    Ja slyszalem go w polaczeniu z CARPOWER SONIC 15" no i nie mozna mu odmowic ze robil ogromne cisnienie
  • #10 7269807
    Elliash
    Poziom 10  
    Własnie ze względu na ten wzmacniacz nie wiem już czy lepiej zrobić suba z 2 głośników tańszych czy z jednego lepszego ?
  • #11 7269984
    buko06
    Poziom 20  
    Carpower Sonic 12 w dużej szczelinie powinien Cie zadowolić.
    Masz jakość,szybkość i co najważniejsze konkretne Ciśnienie ;)
    Naprawde głośno gra ;D

    GROUND ZERO GZNW12 NUCLEAR uzywke możesz kupić do 900zł to jest mój faworyt razem z Carpowerem te głośniki naprawde potrafia wytworzyć konkretne ciśnienie w aucie pozatym graja szybko i czysto.
    Aż chce sie ich słuchać.

    2 x Powerbass S-12 bardzo chwalone głośniki podobno uniwersalne.
    Polecił bym Ci 2x M-12 ale podobno M12 lipna membrana ;)

    Powerbass L-12 400 rms masz jakość szybkość bo co to ciśnienia to nie moge powiedziec bo nie slyszałem osobiście ;)

    Hertz HX300 do szybszych bitów też sie nadaje.
  • #13 7272635
    Elliash
    Poziom 10  
    Potrafilibyście wyliczyć skrzynie do głośnika GROUND ZERO GZNW12 NUCLEAR
    Bass reflex ona bodajże ma mieć 40 lub 60l

    Sam próbuje to zrobić ale jakiś błędy mi wyskakują w programie ;(
  • #14 7272725
    GSX-R
    Poziom 18  
    2xBM Z3-12DVC w skrzyni br 2x55l.Naprawde głosniki niedoceniane ale robia nieziemska robote.Mam auto coupe to nawet przy lekkim podkreceniu vol nie idzie wyrobic.Jest naprawde konkretnie cisnienie i masakryczne zejscie.Napewno sa warte swojej ceny,gorąco je polecam.W tej cenie absolutnie nie ma sobie rownych,i 2szt spokojnie wytrzymuja 1,5kw na dłuzsza mete.
  • #15 7276871
    Elliash
    Poziom 10  
    kupiłem tego GROUND ZERO GZNW12 NUCLEAR i myśle zrobić skrzynie BR o wymiarach 70/40/35 tylko własnie nie wiem jakie zrobić wymiary BR. Może ktoś pomoże?
  • #16 7286888
    lowlander
    Poziom 16  
    sanders156 napisał:
    Twoj wzmak pozwole sobie zauwarzyc ze dysponuje duza moca ale tragiczna kontrola ( DF ) I to niestety slychac pozatym w zadnym wypadku nie jest to jakosciowy wzmak

    Ja slyszalem go w polaczeniu z CARPOWER SONIC 15" no i nie mozna mu odmowic ze robil ogromne cisnienie


    Nie przesadzaj kolego że taki tragiczny i w tej cenie znam wiele gorszych :) a kontrola nad głośnikiem niewielka ale to wzmak typowy dla "ciśnieniowców" on ma za zadanie napędzić zamulacza 15" a nie grać jakościowo bo do jakości nie potrzeba kW RMS ;]

    Dodano po 3 [minuty]:

    Mihas66 napisał:
    ... Ta pierwsza to zwykła closed tylko z 2 głośnikami...


    Popatrz dokładniej zanim coś napiszesz. Ta 1 to nie closed, przyjrzyj się, to szczelinowy BR w dodatku debilnie zaprojektowany z uwagi na 1 komorę dla obydwu głośników.
REKLAMA