logo elektroda
logo elektroda
X
logo elektroda
REKLAMA
REKLAMA
Adblock/uBlockOrigin/AdGuard mogą powodować znikanie niektórych postów z powodu nowej reguły.

SONY SDM-HX95. Nie uruchamia się.

jacenty2 11 Gru 2009 19:22 3301 4
REKLAMA
  • #1 7375548
    jacenty2
    Poziom 15  
    Witam.
    Monitor martwy, nie świeci dioda standby. Przetwornica funkcjonuje, wychodzi z niej
    5v i 12v, brak tętnień. Ze stabilizatorów na płycie głównej wychodzi 1,8v i 3,3v.
    Ktoś walczył może z czymś podobnym.
  • REKLAMA
  • REKLAMA
  • #3 7380738
    jjjonasz
    Poziom 18  
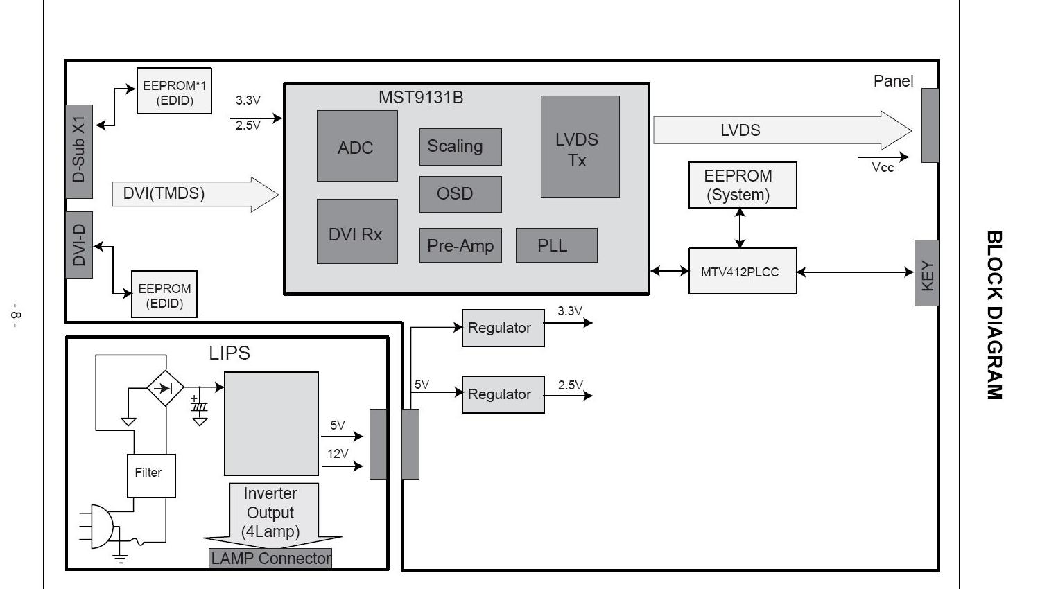
    Chyba nic w tym dziwnego.
    Nie mam schematu tego modelu, ale załączam schemat blokowy innego modelu Sony.
    SONY SDM-HX95. Nie uruchamia się.
    Przyczyn szukałbym na płytce klawiatury, przewodzie i złączach oraz na płycie głównej.
  • REKLAMA
  • #4 7388523
    SLAVCO1983
    Poziom 18  
    Zrób fote płytki sterowania matrycą.
  • #5 7388834
    jacenty2
    Poziom 15  
    Klawiaturę lokalną sprawdziłem na samym początku, żaden switch nie przywiera.
    Napięcia wychodzące z zasilacza zgodne z opisem na płycie.
    Logika matrycy odpięta (nie przywiera).
    Nie wiem do czego koledze SLAVCO1983 jest potrzebne zdjęcie logiki?
    Dziękuję koledze jjjonasz za schemat blokowy, ale raczej w niczym mi nie
    pomoże.
    Może któryś z kolegów dysponuje aplikacją procesora TSU66AJ-LF.
REKLAMA