logo elektroda
logo elektroda
X
logo elektroda
REKLAMA
REKLAMA
Adblock/uBlockOrigin/AdGuard mogą powodować znikanie niektórych postów z powodu nowej reguły.

subwoofer w takim kształcie?

jakubek18 24 Sty 2010 11:33 4803 38
REKLAMA
  • #1 7582853
    jakubek18
    Poziom 10  
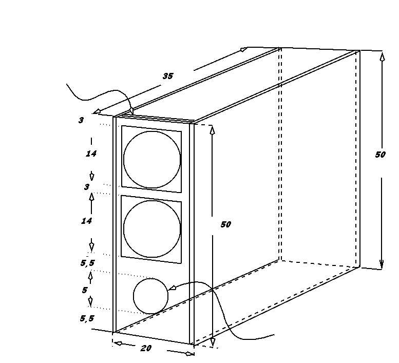
    co powiecie na taki kształt i czy w ogole wypali cos takiego? z goru dzieki za pomoc

    subwoofer w takim kształcie?
  • REKLAMA
  • #2 7583113
    adam313890
    Poziom 12  
    Witaj.

    Po pierwsze podaj głośniki jakie chcesz tu zamontować ,
    Po drugie jakim wzmacniaczem chcesz to napędzić (podaj moc w Watach) ,
    Po trzecie ta obudowa jest za duża dla takich małych głośników i w ogóle nie będziesz miał basu, jedynie pusty dzwięk (tak jak z muszli klozetowej).
    Subwoofer musi mieć tak jak inne kolumny odpowiednią objętość skrzyni.
    Twoja obudowa ma 35l w dodatku bass reflex.
    Tuba bass powinna być z tyłu lub po boku.
    Możesz zastosować kolumnę ciśnieniowo - bass refleks.
    Jest obudowa w kształcie kostki, na przeciwległych ścianach masz głośniki, a na jednym z boków masz bass reflex. Wymiary:(sz wy dł) 20;20;20 (kostka).
  • #3 7583132
    jakubek18
    Poziom 10  
    no niestety glosniki typu no name... :( bo wyjete z jakis kolumn od wiezy chyba AIWA. a wzmacniacz to diora ws354a. i posiadam rowniez do tego 1 kolumne Altus 110. a 2 niestety mam na dzialce i nie mam czym jej przywiesc do domu niestety. a chcialem zrobic jakis maly subwooferek.
  • #4 7583160
    adam313890
    Poziom 12  
    No to możesz próbować tak jak ja ci napisałem. Zrób tę kolumnę bo ona jest dobra do wszystkich głośników
  • REKLAMA
  • #5 7583177
    jakubek18
    Poziom 10  
    no okej dzieki. a powiedz jak glosniki podłaczyc? szeregowo ?
    a mialbym prosbe czy bys zrobil jakis szkic w paincie. jak ma wygladac abym byl pewien? a od jutra wezme sie za robienie subwoofera. a i jeszcze jaka dlugosc rury br?
  • #6 7583207
    adam313890
    Poziom 12  
    Bass (kolor czerwony) jako zwykła dziura o średnicy 5cm.
    glośniki żółte.
    subwoofer w takim kształcie?

    głośniki szeregowo
  • REKLAMA
  • #7 7583214
    jakubek18
    Poziom 10  
    dzieki bardzo. to mam nie kupowac rury do br? tylko wyciac dziure i to wszystko tak? ;>

    Dodano po 2 [minuty]:

    a co do tych glosnikow to na 1 glosnik obudowa byla ok. 12L a glosnik wysokotonowy byl na wierzchu plasitowej obudowy. i 2 otwory ok. 2cm x 3 cm nie wiem czy to wazne ale napisalem. ;)
    pozdrawiam
  • #8 7583228
    adam313890
    Poziom 12  
    tak. Powinno działać. Możesz na początek zrobić bez bass reflex, wtedy będziesz miał kolumnę ciśnieniową, Pamiętaj o fazie głośników Aby pracowały razem

    to co napisałeś jest istotne, ale nie teraz.
  • #9 7583238
    jakubek18
    Poziom 10  
    fazie? ;> czyli podlaczyc + do + i - do - ;> zebym dobrze podlaczyl hehe

    Dodano po 1 [minuty]:

    nie teraz czyli kiedy bedzie istotne ?:P
  • #10 7584272
    edison

    Poziom 26  
    Cytat:

    Tuba bass powinna być z tyłu lub po boku.

    Skąd takie przekonanie? Z przodu też może być.
    Cytat:

    Zrób tę kolumnę bo ona jest dobra do wszystkich głośników

    Nie istnieje coś takiego jak obudowa dobra do wszytstkich głośników - każda powinna być obliczona pod kątem współpracy z konkretnym głośnikiem.


    Jeżeli chodzi o kształt to podany w pierwszym rysunku może być. Jednak z mniejszą pojemnością (około 24L) w przybliżeniu odpowiadającą dwukrotności pojemności oryginalnych kolumn z których wyciągnąłeś głośniki. Basrefleks będziesz musiał dobrać eksperymentalnie bo nie masz parametrów głośnika koniecznych do jego obliczenia. Na początek wstaw np. średnicy 6cm i długości 15-20cm. Możesz sukcesywnie skracać po ok 2 cm pomiędzy odsłuchami, w ten sposób usłyszysz co Ci się bardziej podoba. Obudowę zamkniętą też możesz odsłuchać przed wycięciem otworu basrefleks, jednak nie uzyskasz z niej takiej ilości basu jak w przypadku basrefleks.
  • #11 7584287
    jakubek18
    Poziom 10  
    aha no wiec teraz pytanie .. mowisz ta 1 obudowa tez jest dobra. tylko jakie wymiary beda?
    a co do tego 2 rysunku obudowy to nie moze byc? moze poprostu tez zrobic w kostke ale o wiekszych wymiarach aby tez bylo cos kolo 24 L.
    i badz tu madry i zdecyduj sie na cos.
    to jaka obudowe Ty bys zrobil? ;)
  • #12 7584320
    edison

    Poziom 26  
    Ze względu na mniejsze problemy z ustawieniem ja zrobiłbym tą z 2 głośnikami z przodu. "Kostka" też może być, zależy co Ci się bardziej podoba.
  • #13 7584324
    jakubek18
    Poziom 10  
    mi glownie chodzi o jaka taka radoche ze sluchania muzyki.. wyglad ma tu 2 miejsce. ;) pytanie w ktorej budzie lepiej zagra <mysli> ?
  • #14 7584364
    edison

    Poziom 26  
    To jak zagra zależy też od miejsca i sposobu ustawienia. Wygląd to raczej kwestia gustu i potrzeb (np.ilości miejsca).
  • #15 7584376
    jakubek18
    Poziom 10  
    no mysle ze wstawie go pod biurko ;> ale czy to dobry pomysl ? ewentualnie na przeciw kompa. tzn przy łożku tzn miedzy lozkiem a szafa ... jesli chcesz zrobie rysunek w paincie ;p
  • #16 7585027
    edison

    Poziom 26  
    Co do ustawienia to musisz trochę poeksperymentować. Niektóre miejsca będą podbijały niektóre częstotliwości a inne przeciwnie. Musisz ustawiać w różnych miejscach, wtedy sam określisz gdzie będzie najlepiej dla Ciebie.
    pozdrawiam
  • #17 7585543
    Granat :)
    Poziom 34  
    Zrób obudowę z głośnikami i br na froncie, będzie bardziej ustawna niż jak każdy głośnik i br będzie na innej ściance. Kształt dowolny., najlepiej okrągła :)
  • #18 7587104
    Pokrentz
    Poziom 22  
    Czekajcie, czekajcie, pogubiłem się, a sprawa jest poważna i należy to powiedzieć ściśle.
    Ustalmy uwagę: głośniki na przeciwległych ściankach mają grać tak, że jak jeden wychyla się na zewnątrz obudowy, to drugi też w tym czasie wychyla się na zewnątrz obudowy. Szeregowo je wtedy łączymy + wzmacniacza<-> + glosnika1, -głośnika1<->+głośnika2, -głośnika2<-> -wzmacniacza. Bo jak sie połączy nie w fazie, to układ będzie się zachowywał jak głośnik bez obudowy. Czyli pasmo od dołu zacznie mu się na sporych setkach herców zamiast na tych 80 - 100 Hz.
    Pomijam już kwestię sensu robienia obudowy rezonansowej, jaką jest bas - refleks bez jej uprzedniego policzenia i zaprojektowania do posiadanycyh głośników. Zagrać, to to oczywiście zawsze jakoś zagra, ale szansa, że się tego będzie dało słuchać, jest niewielka.
  • REKLAMA
  • #19 7587644
    jakubek18
    Poziom 10  
    czyli najlepiej jaka obudowe zrobic? rysunek 1? czy rys 2 ? ;> glosniki na przeciwleglych sciankach i br z przodu?
  • #20 7588519
    Pokrentz
    Poziom 22  
    Jakubek18: kolego, po kolei. Ja moze nie jestem jakims super - ekspertem w głośnikach, ale mam za soba konstrukcje kolumn zamknietych (nazywanych tutaj cisnieniowe) i właśnie "na pająku" odpaliłem moje labiryntówki, do ktorych teraz robię drugi wzmacniacz (bi-ambing) i będe je stroił, choc już na pająku grają obiecująco.
    To, jak umieścisz głośniki w obudowie, zwłaszcza basowe, to rzecz wtórna. Mogą być z przodu, z tyłu, nawet skierowane do ziemi (jeśli subwoofer jest na wyższych nóżkach). Oba głośniki MUSZA pracować w fazie - czyli być łączone szeregowo tak, jak powiedziałem, albo równolegle +glosnika1<->+glosnika2<->+wzmacniacza, -glosnika1<->-glosnika2<->-wzmacniacza, zależnie, jaką impedancję chcesz uzyskać. Jeśli masz głośniki 4 Ohm, to bezpieczniej dla wzmacniacza będzie szeregowo (choć będzie ciszej). Jak połączysz równolegle, to dostaniesz impedancję wypadkową 2 Ohm, a to już może zabić wzmacniacz. Jak masz głośniki 8 Ohm, połącz je równolegle, bo w szeregu zagrają prawdopodobnie za cicho.
    Druga sprawa: poczytaj, we własnym, dobrze pojętym interesie o obudowach bas - refleks. Je należy zaprojektować do konkretnego głośnika (głośników). Owszem, jak zrobisz "na pałę" i "na oko", to też zagrają, tak, jak goły głośnik podpięty do wzmacniacza też zagra, tylko gdzie będziesz miał bas? Kolumny robi się właśnie po to, żeby głośnik mógł z siebie wypromieniować niskie dźwięki odpowiedniej jakości - i o to jest 98% walki przy projektowaniu i budowaniu kolumn.
    Kolumna bas - refleks w Twoim przypadku powinna mieć dobraną do owych głośników pojemność, średnicę tuneli i ich długość oraz wytłumienie kolumny. Parametrami o mniejszym znaczeniu są kształt obudowy, umiejscowienie głośników.
    Do tego trzeba znać parametry Thiele - Smalla głosników. Jak ich nie znasz - zostaje ich pomiar (skomplikowane, ale zasadniczo z komputerem, wzmacniaczem i odrobiną pomyślunku - do zmierzenia), albo zbudowanie "na oko" i skracanie / wydłużanie rury bass-refleks do uzyskania czegoś dającego się słuchać. Jest jeszcze wersja taka, że robi się kolumnę próbną o regulowanej objętości (np. z rury kartonowej do betonowania kolumn, tzw sonotube), zamkniętą z jednej strony głośnikiem, z drugiej - tłokiem z kanałem b-r i robieniem eksperymentów.
    Jako ciekawostkę podam, że taki zestaw najlepiej zgra, kiedy w rurze nie będzie tłoka a rura będzie miała długość rowną 1/4 długości fali o częstotliwości rezonansowej głośnika. To się nazywa właśnie "kolumna labiryntowa" i moim zdaniem, jest to najszlachetniejszy rodzaj kolumny basowej, jaki można zrobić. Ma bardzo nisko schodzący bas, w rejony niedostępne bas-refleksom i nie ma ich wad: kiepskiej odpowiedzi impulsowej. I tylko jedną wadę - jest duża z definicji - kanał ma długość ok. 2 metrów.
  • #21 7588626
    jakubek18
    Poziom 10  
    no rozumiem. czyli ty jakie wymiary bys zaproponowal? poprzednia obudowa miala 12L. a glosniki sa typu no name :( wyjete z kolumn AIWA ;] . a glosniki posiadam 6 ohm. to te super glosniki podlaczyc szeregowo? ;>
  • #22 7589274
    Pokrentz
    Poziom 22  
    Jakubek, w takim razie, jak chcesz zainstalować je w jednej kolumnie, to dobrym przybliżeniem będzie kolumna 24 litry. Na początek połącz je szeregowo. Potem spróbuj równolegle, jak będzie za cicho, tylko nie przesadź z głośnością, bo możesz uszkodzić wzmacniacz. Graj tak głośno, żeby nie słyszeć przesteru, czy charczenia głośników i to tyle. Czy Twoja obudowa miała tunel bas - reflex? Może zacznij od podobnego tunelu, tylko o sqrt(2) razy większej średnicy (polu powierzchni 2 razy większym)? Umieść go w miarę możliwości na sciance, na której będzie można go wydłużyć w razie potrzeby jak najbardziej do wnętrza obudowy. Zastosuj jakiś prowizoryczny tunel bas - reflex z rur kartonowych wsuwanych jedna w drugą i eksperymentuj z długością. Nawet, jeśli nie uda Ci się uzyskać efektu, jakiego się spodziewasz, to jest bardzo duża szansa, że się sporo nauczysz. Czego naprawdę Ci życzę. Nie, nie zniechęcam Cie do robienia tej kolumny, absolutnie, tylko Ci mówię, czego możesz się spodziewać. jak nic sie nie uda osiągnąć, to zawsze można tunel zamocować odwrotnie - na zewnątrz kolumny i zobaczyć, na jakiej długości zagra najlepiej (tak zresztą chyba najlepiej jest robić testy w ogóle). Nawet, jeśli wyjdzie, że tunel musiałby być dłuższy od obudowy, to za pomocą kolanek z PCV, takich od rurek kanalizacyjnych, można taki tunel "złamać" w obudowie, choć to jest niepolecane. Do kolumny na czas testów wsadź troche waty, czy wełny mineralnej w okolice głośnika- kolumna b-r powinna być nieco stłumiona, ale słabiej, niz zamknięta. Okolice wlotu tunelu powinny buć wolne od wytłumienia.
    Bo chodzi nie o to, żeby króliczka złapać, ale, żeby go gonic ;-). Czyli się czegos nauczyć przez eksperyment. Pozdrawiam i życzę dużo zdobytej wiedzy!
  • #23 7589300
    jakubek18
    Poziom 10  
    tak posiadalo br w ksztalcie prostokąta 2cm x 3cm i byly dwie takie dziurki male. ale chcialem wlasnie zrobic subwoofer z 2 glosnikami. jesli chcesz moge wyslac zdjecie tego glosnika. i tamtej obudowy.

    a do subwofera to 24 Litry tak? to moze byc ten 1 eysunek ktory wstawilem. ten ksztalt suba.
  • #24 7589315
    Pokrentz
    Poziom 22  
    Aha, wylot tunelu b-r nie może być skierowany do sciany ani do podłogi, bo wtedy kolumne trzeba będzie odsunąc o 20 cm od sciany, albo postawić na długich nóżkach. Najlepiej daj oba głośniki na front i pod nie wylot Kolumnę zrób tak, jak planowałeś na samym początku. Najbezpieczniej, jeśli chcesz ją stroić eksperymentalnie.

    Dodano po 7 [minuty]:

    Wymiary proponowałbym takie, jak na rysunku z początku, 20 x 50 front, głębokość ok. 25 cm. (głośniki zajmą z litr swoimi stożkami). Dziurę na b-r daj może tak srednicy 4-5 cm. Im większa dziura, tym dłuższy będzie potrzebny tunel do danego strojenia, ale powietrze będzie mniej gwizdać w czasie "pompowania". Zawsze możesz rurę b-r złamać raz kolankiem w obudowie i puścić do góry, jakby była potrzebna dłuższa.
  • #25 7589379
    jakubek18
    Poziom 10  
    a wygluszenie? powiedzmy na kazdej sciance ? bo posiadam taka wate do ocieplania kurtek nadaje sie to ? i warstwa ok. 0,3 mm. i zszywaczem tapicerstkim to przypiac do scianek moze byc takie cos/?
    glosniki podpiac gł1 + gł2+ wzmacniacz +
    gł 1 - gł2 - wzmacniacz - tak? ;>
  • #26 7589386
    Pokrentz
    Poziom 22  
    Tak dla ciekawości, to powiem Ci, że możesz kiedyś zrobić tą samą kolumnę w konfiguracji isobarik. Wtedy 2 głośniki odpowiednio zestawione wejdą do kolumny 12 litrów, przy tej samej skuteczności. Tylko gdzie zmieści się wtedy tunel b-r? ;-)

    Dodano po 4 [minuty]:

    Wygłuszenie, powinno być solidne. Bardziej pasuje gąbka tapicerska, czy wełna mineralna w matach grubości 2-3 cm na każdej ściance (no, tą z głośnikami można sobie darować). Tylko okolice wlotu tunelu b-r zostaw bez wytłumienia - tak, zeby w promieniu 10 - 15 cm od tego wlotu w kolumnie było wolne miejsce a wlot sam był odległy od scianki o co najmniej kilka cm.
    Do testów po prostu wsadź w kolumnę jakiegoś pluszaka siostry za głośniki, albo ze 2 torebki waty z łazienki (oczywiscie wyjetej z torebek), można zastosować też tkaninę polarową, etc. ;-)
  • #27 7589441
    jakubek18
    Poziom 10  
    subwoofer w takim kształcie? czyli tak zrobic kiedys tak ?;>
  • #28 7589445
    Pokrentz
    Poziom 22  
    Aha - głośniki podpinasz tak, jak napisałeś. Tylko ostrożnie z głośnością, impedancja zastępcza wyniesie 3 ohm i wzmacniacz może się lekko spocic, jak przesadzisz. Istnieje minimalne ryzyko, że ma zabezpieczenia i nie wstanie, póki impedancja nie będzie wystarczająca, albo w najgorszym wypadku spłonie końcówka mocy. Ale jak będziesz uważał, to na 99.9% nic nie powinno się stać złego. Można włączyć szeregowo z kolumną opornik 1 ohm 5 W dla bezpieczeństwa. Ale takie coś niestety, nieco pogarsza jakość dźwięku. Posłuchasz, to usłyszysz.
  • #29 7589456
    jakubek18
    Poziom 10  
    okej rozumiem juz co i jak. tylko wtedy wymiary tej odubowy bd 20 cm szerokoscie. 40 wysoki 30 dlugi. i bedzie akurat 24 litry.
  • Pomocny post
    #30 7589458
    Pokrentz
    Poziom 22  
    Oooo, właśnie to jest konstrukcja isobarik. Ale ona daje Ci tylko zmniejszenie obudowy przy zachowaniu skuteczności zestawu. Daje też obniżenie częstotliwości rezonansowej takiego zespolonego głośnika przy zachowaniu jego dobroci wypadkowej, co za tym idzie, konieczność wydłużenia tunelu b-r, co przy mniejszej obudowie może być niewykonalne. Na razie pozostań przy tym, co robisz. To dobry start do nauki.

    Dodano po 1 [minuty]:

    Supcio. to powinno być jak należy. Powodzenia w pracy, no i oczywiście basiku takiego, jak lubisz ;-)
REKLAMA