Witam.
Zostałem poproszony przez kolegę o naprawę pieca gitarowego Eltron G-50jp. Po wymianie 2 tranzystorów wzmacniacz już prawie działa. Piszę prawie bo nadal nie reaguje na pokrętło pogłos.
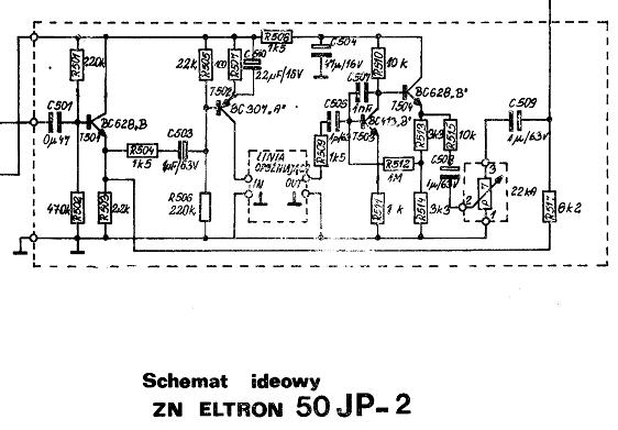
Analizując schemat z tego forum powoli dochodzę do wniosku, że wzmacniacz był jedynie przystosowany do współpracy z zewnętrzną linią opóźniającą a własnej nie posiadał. Czy mam rację?
Czy też może schemat zamieszczony na forum jest niekompletny i ten wzmacniacz miał własny blok pogłosu?
Jeżeli opcja 2 jest bliższa prawdy to poproszę o schemat tej linii opóźniającej.

Zostałem poproszony przez kolegę o naprawę pieca gitarowego Eltron G-50jp. Po wymianie 2 tranzystorów wzmacniacz już prawie działa. Piszę prawie bo nadal nie reaguje na pokrętło pogłos.
Analizując schemat z tego forum powoli dochodzę do wniosku, że wzmacniacz był jedynie przystosowany do współpracy z zewnętrzną linią opóźniającą a własnej nie posiadał. Czy mam rację?
Czy też może schemat zamieszczony na forum jest niekompletny i ten wzmacniacz miał własny blok pogłosu?
Jeżeli opcja 2 jest bliższa prawdy to poproszę o schemat tej linii opóźniającej.