Projekt powstał z potrzeby łączności. Mój dziadek ma dom z ogrodem oddalonym o ok.100m .Żeby córka mogła np. zawołać dziadka na obiad otwierała okno i krzyczała (czasem z marnym skutkiem). Wpadłem pewnego razu na pomysł aby usprawnić tą niedogodność. Wymyśliłem urządzenie, które współpracuje ze standardowymi aparatami. Później okazało się, że jest tanie i niezawodne.
Działa od 3 lat bezawaryjnie (nie ma się tam co zepsuć). Symuluje do złudzenia standardową centralę miejską.
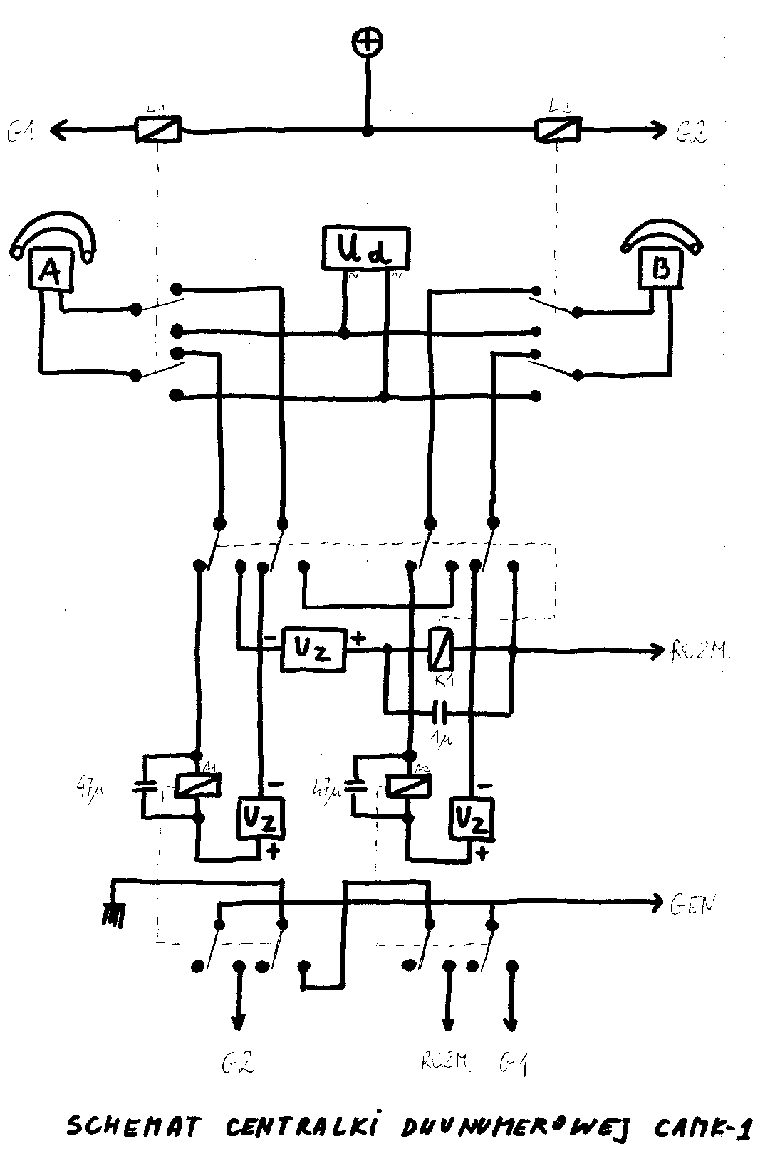
Zasada działania:
Podniesienie jednej ze słuchawek wysyła dzwonienie do drugiego aparatu i na odwrót. W przypadku podniesienia słuchawki w aparacie B następuje komutacja i można rozmawiać. Sprawa banalnie prosta
Zasilacz:
Na schemacie zasilacza transformator jest jednouzwojeniowy, ale można zastosować z dwoma niezależnymi napięciami (dzw:30V i zas:20-25V).
Generator:
Elementy RC należy dobrać doświadczalnie
Wykaz elementów:
Przekaźniki:
L1,L2 - 12-24V.................2 szt.
A1,A2 - 6-12V..................2 szt.
K1 - 6-12V(bez diody)..........1 szt.
Kondensatory:
1 uf...........................1 szt.
1000 uf/40V....................1 szt.
100 uf/25V.....................1 szt.
47 uf/25V......................2 szt.
Transformator:
18 V i ok.30 V(prąd dzwon.)....1 szt.
US:
555............................1 szt.
Tranzystor:
BC 237.........................1 szt.
nadesłał: Egon
egon73 (małpa) poczta.onet.pl
Działa od 3 lat bezawaryjnie (nie ma się tam co zepsuć). Symuluje do złudzenia standardową centralę miejską.
Zasada działania:
Podniesienie jednej ze słuchawek wysyła dzwonienie do drugiego aparatu i na odwrót. W przypadku podniesienia słuchawki w aparacie B następuje komutacja i można rozmawiać. Sprawa banalnie prosta
Zasilacz:
Na schemacie zasilacza transformator jest jednouzwojeniowy, ale można zastosować z dwoma niezależnymi napięciami (dzw:30V i zas:20-25V).
Generator:
Elementy RC należy dobrać doświadczalnie
Wykaz elementów:
Przekaźniki:
L1,L2 - 12-24V.................2 szt.
A1,A2 - 6-12V..................2 szt.
K1 - 6-12V(bez diody)..........1 szt.
Kondensatory:
1 uf...........................1 szt.
1000 uf/40V....................1 szt.
100 uf/25V.....................1 szt.
47 uf/25V......................2 szt.
Transformator:
18 V i ok.30 V(prąd dzwon.)....1 szt.
US:
555............................1 szt.
Tranzystor:
BC 237.........................1 szt.
nadesłał: Egon
egon73 (małpa) poczta.onet.pl
Fajne? Ranking DIY