Witam.
Posiadam w domu wzmacniacz elektronika W-200. Jest to wzmacniacz mono z możliwością rozmostkowania. Szukałem wszędzie ale nigdzie nie znalazłem na moje pytanie odpowiedzi. Więc pytam się tutaj czy ktos kiedy taki wzmacniacz rozmostkowywał lub wie od czego zacząć.
Proszę o wasze porady ponieważ nie che go zepsuć a moze posłużyć jeszce parę ładnych lat.
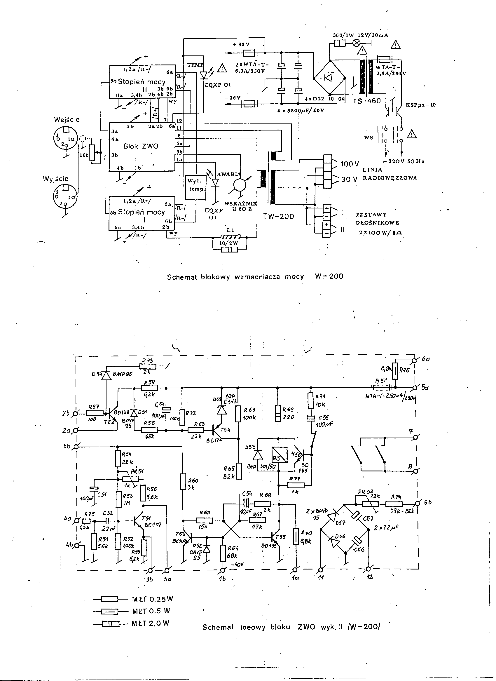
Poniżej schematy tego wzmacniacza.

Posiadam w domu wzmacniacz elektronika W-200. Jest to wzmacniacz mono z możliwością rozmostkowania. Szukałem wszędzie ale nigdzie nie znalazłem na moje pytanie odpowiedzi. Więc pytam się tutaj czy ktos kiedy taki wzmacniacz rozmostkowywał lub wie od czego zacząć.
Proszę o wasze porady ponieważ nie che go zepsuć a moze posłużyć jeszce parę ładnych lat.
Poniżej schematy tego wzmacniacza.