iButton to układ scalony o średnicy 16mm, zamknięty w metalowej obudowie ze stali nierdzewnej wprowadzony i używany przez firmę Dallas Semiconductor. Układy te najczęściej są wykorzystywane do kontroli dostępu.
Interfejs elektryczny jest zredukowany do absolutnego minimum. Energia do pracy układu pobierana jest z interfejsu 1-Wire.
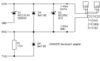
Autor w celu dostosowania poziomu sygnału RS232 do magistrali 1-Wire zbudował mały adapter dzięki któremu jest możliwy odczyt numeru seryjnego. Układ jest zbudowany na płytce uniwersalnej o wymiarach 25 x 18mm. Większość elementów jest w obudowie SMD ale jest kilka rezystorów w większych obudowach. Na płytce znajduje się również dioda LED, która jest kontrolowana przez piny 4 i 7 złącza RS232. Dioda ta nie jest zaznaczona na schemacie, ponieważ została dodana w późniejszym etapie projektu.
Zasilanie pochodzi z portu RS232 po przez piny 4 i 7 i w zależności od komputera może wahać się od 5 do 12V. Aby upewnić się, że jest stałe napięcie autor wykorzystał mały regulator (VR1) 3V ale 5V też powinien być dobry.
Autor napisał specjalny program w Delphi do obsługi urządzenia, dzięki któremu można szybko i prosto odczytać numer seryjny układu.
Źródło
Fajne? Ranking DIY
