logo elektroda
logo elektroda
X
logo elektroda
REKLAMA
REKLAMA
Adblock/uBlockOrigin/AdGuard mogą powodować znikanie niektórych postów z powodu nowej reguły.

ModBus - Co oznaczają symbole CTP1, CTP3, CTP4 i ich inkrementacja?

5657jz 09 Lis 2012 22:55 5055 2
REKLAMA
  • #1 11510244
    5657jz
    Poziom 14  
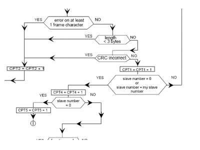
    Czy może ktoś mnie naprowadzić. Co to za symbol CTP4, CTP3 itd.(na poniższym rysunku) . Co wynika z CPT1 = CPT1 + 1 a dalej CPT4 = CPT4 + 1. Co wynika z (dodania) +1 jeśli dalej CTP wciąż się zmienia ?
    Czy "CTP" to odrębne liczniki ? Jak to jest ?

    ModBus - Co oznaczają symbole CTP1, CTP3, CTP4 i ich inkrementacja?
  • REKLAMA
  • Pomocny post
    #2 11537609
    Slawek_K
    Poziom 12  
    Witaj,

    W modbus CPT3 i CPT4 są osobnymi licznikami. CPT3 jest licznikiem błędów w transakcji, natomiast CPT4 jest licznikiem zapyta skierowanych do tego slave. Liczniki te są dokładnie opisane w dokumentacji http://www.modbus.org/docs/Modbus_over_serial_line_V1_02.pdf załącznik A punkt 6.1.

    pozdrawiam
  • #3 14458446
    5657jz
    Poziom 14  
    Dzięki za pomoc
REKLAMA