logo elektroda
logo elektroda
X
logo elektroda
REKLAMA
REKLAMA
Adblock/uBlockOrigin/AdGuard mogą powodować znikanie niektórych postów z powodu nowej reguły.

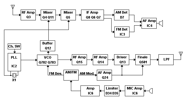
Stabo XF 5012 - Który element ogranicza modulację w tym radiu?

Arek_mały 14 Lip 2015 18:25 1518 2
REKLAMA
  • #1 14847953
    Arek_mały
    Poziom 10  
    Bazowe radio XF 5012 , który element ogranicza modulację w tym radiu? Czy limiterem modulacji jest rezystor? Który?
  • REKLAMA
  • #2 14848179
    Konto nie istnieje
    Poziom 1  
  • #3 15637938
    TT5
    Poziom 10  
    Ogranicznik modulacji masz na tranzystorze Q24. Na pewno jakiś kondensator małej pojemności i rezystor do w.cz. idzie i przy przemodulowanym sygnale sprz. zwrotne obcina amplitudę z mikrofonu (zmniejszając wzmocnienie przynajmniej części toru mikr. w AM czyli wzmocnienie najczęściej wzmacniacza m.cz. bo on daje 'moc' modulacji.
    Te diody ograniczają wstępnie zbyt wysoki sygnał.

    73!
REKLAMA