logo elektroda
logo elektroda
X
logo elektroda
REKLAMA
REKLAMA
Adblock/uBlockOrigin/AdGuard mogą powodować znikanie niektórych postów z powodu nowej reguły.

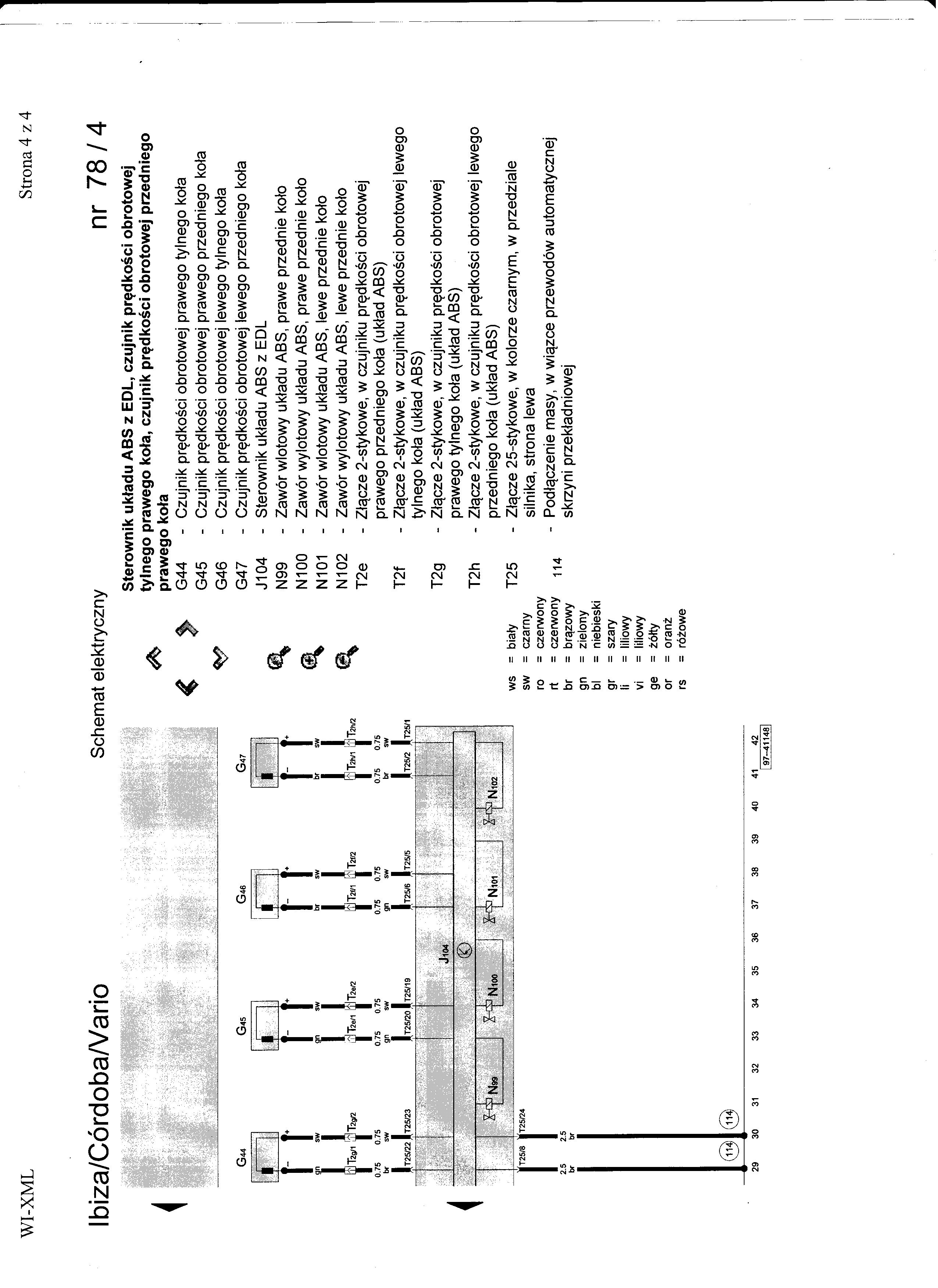
Schemat instalacji elektrycznej pompy ABS 1J0 907 379 AF w Seat Cordoba 1.9 TDI 1999

romcioo11 29 Paź 2015 21:24 5379 7
REKLAMA
  • #1 15106863
    romcioo11
    Poziom 10  
    Witam forumowiczów
    .Potrzebuje schemat instalacji ele. Do pompy abs 1J0 907 379 AF .W Seat Cordoba 1.9 tdi ,asv 1999r . Ponieważ sie spaliła wraz z wtyczką i pompą . Z gory dzieki .
    Pozdraiwam .
  • REKLAMA
  • #2 15107833
    jacek074
    Poziom 29  
    Cordoba po lifcie ?
  • REKLAMA
  • #3 15108029
    romcioo11
    Poziom 10  
    Tak po lifcie . wersja od 99r do 2001r
    jak na zlosc skonczyla mi sie liencja w auto data
  • REKLAMA
  • #5 15109526
    romcioo11
    Poziom 10  
    Dzięki i za to bede dzialał . jak ruszy to napisze
  • Pomocny post
    #6 15109979
    jacek074
    Poziom 29  
    ABS z kostką 25 pin. Schemat instalacji elektrycznej pompy ABS 1J0 907 379 AF w Seat Cordoba 1.9 TDI 1999 Schemat instalacji elektrycznej pompy ABS 1J0 907 379 AF w Seat Cordoba 1.9 TDI 1999 Schemat instalacji elektrycznej pompy ABS 1J0 907 379 AF w Seat Cordoba 1.9 TDI 1999
  • REKLAMA
  • #7 15110056
    romcioo11
    Poziom 10  
    dzieki i za to , jak ruszy to napisze
  • #8 15131959
    romcioo11
    Poziom 10  
    Dzieki schematy pomogły . system ruszył . tylko jest mala różnica na 10 i 11 pinie w schemacie są dwa przewody biało czarne , a faktycznie zastałem czarny i biały .
    Mam jeszcze jedno pytanie czy stosując na przemiennie po przez przełącznik 2 - biegunowy włączanie zworek na pinie 14 i 3 dla EDL oraz 17 i 13 dla TCS , uda sie w tym aucie uzyskać dodatkowo EDL . Razem te zworki generują błąd .
REKLAMA