logo elektroda
logo elektroda
X
logo elektroda
REKLAMA
REKLAMA
Adblock/uBlockOrigin/AdGuard mogą powodować znikanie niektórych postów z powodu nowej reguły.

Żarówka pozycji/stop jako przeciwmgielne. Odłączanie sygnałów.

kar78787878 24 Kwi 2016 14:51 4083 22
REKLAMA
  • #1 15626621
    kar78787878
    Poziom 8  
    Witajcie,
    szukam rozwiązania na następujące zagadnienie.
    Lampa tylna w aucie ma dwie żarówki dwuwłóknowe, obydwie pełniące rolę świateł pozycyjnych i stop. Chciałbym aby po doprowadzeniu napięcia (sygnał od przeciwmgielnego) na włókno stop jednej żarówek nie działała ona jako stop i pozycja, czyli odcięcie od tych dwóch sygnałów. Druga żarówka działa nadal tak samo.
    Myślałem, aby w kable stop i pozycji tej jednej z żarówek włączyć przekaźnik sterowany sygnałem z przeciwmgielnego (rozwarcie powyższych obwodów), ale wydaje mi się, że może być zbyt duży spadek napięcia na cewce. Przekaźniki półprzewodnikowe obsługują obciążenia z napięciem stałym lub inne mają chyba zbyt mały prąd sterowania.

    //EDIT:
    Może się wydawać to dziwne, bo przecież po otrzymaniu sygnału z przeciwmgielnego nie ma znaczenia już stop i pozycja.
    Ale doszczegółowię. Są dwie identyczne lampy, przy czym w prawej nie ma żarówki przeciwmgielnego, ale sygnał dochodzi i ma odciąć stop i pozycję.
    Dla uproszczenia jednak rozważmy sytuację z jedną, lewą lampą.

    Jeśli ktoś ma jakiś pomysł w jaki sposób rozwiązać problem, będę wdzięczny.

    Pozdrowienia,
    K.
  • REKLAMA
  • Pomocny post
    #2 15626728
    piotrek22101
    Poziom 39  
    Sygnał włączenia przeciwmgielnego powinien spokojnie zasilić cewkę przekażnika. Zakładałem pod gniazda haka takich kiła i działają.
  • #3 15626785
    kar78787878
    Poziom 8  
    Dzięki za odzew.

    A nie będzie zbyt dużego spadku napięcia na cewce przez co przeciwmgielne będzie słabiej świecić?

    Dodatkowe szczegóły.
    Honda Civic HB VI (1999).
    Opisana sytuacja jest to sytuacja hipotetyczna.
    Obecnie jest tak:
    - lewa lampa górna żarówka stop/pozycja, dolna żarówka przeciwmgielne,
    - prawa lampa górna żarówka stop/pozycja, dolnej żarówki brak.
    Pomijam kierunkowskazy.

    Docelowa sytuacja:
    - bez przeciwmgielnego, obydwie lampy góra/dół pozycja (4x pozycja) lub w przypadku stopu 4x stop.
    - z przeciwmgielnym powrót do standardu, obydwie lampy góra pozycja (2x pozycja) lub w przypadku stopu (2x stop). Przeciwmgielne lewa dół.
  • REKLAMA
  • Pomocny post
    #4 15626963
    piotrek22101
    Poziom 39  
    Da się to zrobić bez problemu, przekaźniki przy lampach będą rozłączać/przełączać sygnały. Daj małe przekaźniki i będzie dobrze. P.S.
    Zrób obie dolne jako p.mgielne będzie para.
  • #5 15627121
    kar78787878
    Poziom 8  
    Dla pewności wrzucam schemat, o którym myślę (tylko dolne żarówki w obydwu lampach).
    http://i.imgur.com/XukmQTu.jpg

    Dwóch przeciwmgielnych nie chcę, zresztą gdybym chciał, to nie musiałbym dawać przekaźników, bo i tak nie będzie różnicy przy wciśnięciu stop lub zapaleniu pozycyjnych w tej żarówce:)
  • Pomocny post
    #6 15627178
    piotrek22101
    Poziom 39  
    Na światłach stop i tak nikt nie jeździ nonstop. Dwie lampy są bardziej widoczne,schemat będzie działać jak masę przekaźnika dasz do minusa , plus p.mgielnego do przewodu od włącznika.
  • #7 15627211
    tzok
    Moderator Samochody
    Wystarczy jedna dioda... ale może być i przekaźnik, tyle że nie rozumiem tu sensu łączenia jego cewki szeregowo z żarówką. Chyba, że źle zrozumiałem co chcesz uzyskać.
  • REKLAMA
  • #9 15627312
    kar78787878
    Poziom 8  
    tzok napisał:
    Wystarczy jedna dioda... ale może być i przekaźnik, tyle że nie rozumiem tu sensu łączenia jego cewki szeregowo z żarówką. Chyba, że źle zrozumiałem co chcesz uzyskać.

    Efekt jaki chcę uzyskać, to odciąć w obydwu żarówkach sygnał ze stopu i pozycji przy włączonym przeciwmgielnym w lewej żarówce.
    Ale można to jeszcze uprościć. Skoro przeciwmgielne jest w lewej, to nie ma znaczenia sygnał stop i pozycji dla tej żarówki, ale wtedy na pewno trzeba odciąć w prawej (wtedy nie ma w niej ani stop, ani pozycji, bo są odcięte i przeciwmgielnego, bo nie jest w ogóle doprowadzone).
    Czyli według mojego toku rozumowania uproszczony schemat wygląda tak:
    http://i.imgur.com/g8tms7V.jpg
    Sygnał na przekaźnik z przeciwmgielnego rozwiera styki i odłącza stop i pozycję w prawej żarówce.

    tzok, jeśli masz pomysł na użycie diody zamiast przekaźnika, to pisz proszę.

    piotrek22101, kreska nie jest pomyłką, ale ze względu na moją ograniczoną wiedzę, nie wiem czy cewka powinna być włączona szeregowo czy równolegle.
  • #10 15627324
    piotrek22101
    Poziom 39  
    Tak jak narysowałem,równolegle z żarówką p.mgielnego. Jeden pin cewki dajesz do minusa auta a drugi do przewodu plusowego na lewą żarówkę przeciwmgielnego,gdy je włączysz to przekaźnik rozłączy pozostałe.
  • #11 15627330
    kar78787878
    Poziom 8  
    piotrek22101
    a jaki sygnał włączy mi teraz przeciwmgielne?:)
  • #13 15627625
    tzok
    Moderator Samochody
    Przeciwmgielne jest na tej samej żarówce co stop czy po prostu chcesz wyłączyć jedną dwuwłókową żarówkę, gdy włączone jest p.mgielne? Jeśli to drugie to przekaźnik z podwójnym stykiem normalnie zwartym (87a) lub dwa przekaźniki z pojedynczym stykiem normalnie zwartym. Zapewne problemem będzie mechaniczne rozdzielenie par żarówek w lampie, bo raczej nie mają wyprowadzonych osobnych styków sterujących...

    Jak już tak wszyscy gryzmolą na kartkach to i ja się przyłączę:
    Żarówka pozycji/stop jako przeciwmgielne. Odłączanie sygnałów.
  • #14 15627642
    kar78787878
    Poziom 8  
    Przeciwmgielne jest (będzie) na tym samym włóknie co stop w lewej żarówce.
    Jednak w przypadku tej żarówki można rozwierać stop i pozycję lub pozostawić (w przypadku kiedy będzie włączone przeciwmgielne i pozycyjne, będą się palić dwa włókna).
    Natomiast w prawej mają się obydwa włókna wyłączyć, ale tam nie będzie przeciwmgielnego.
  • Pomocny post
    #15 15627671
    tzok
    Moderator Samochody
    Czemu taka kombinacja alpejska? Nie łatwiej to zrobić symetrycznie - p. mgielne dać po obu stronach? Przecież to i tak jest wbrew homologacji, a wystarczy jedna dioda (nie ma potrzeby wygaszania włókna 5W, bo przy włączonym 21W będzie niezauważalne).
    Żarówka pozycji/stop jako przeciwmgielne. Odłączanie sygnałów.

    Pozycje działają jak działały, "górny" stop jest zasilany bezpośrednio, dolny jest odseparowany diodą Shottky'ego i równolegle zasilany sygnałem światła p. mgłowego. Włączenie światła p. mgłowego zasili tylko "dolny" stop, górny zachowa swoją funkcję dzięki diodzie (bez niej, świeciłby się cały czas gdy włączone byłoby światło p. mgłowe). Możesz też zbudować hybrydę , tj. przekaźnik do wygaszania "dolnej" pozycji plus dioda do separowania "dolnego" stopu.
  • REKLAMA
  • #16 15627696
    kar78787878
    Poziom 8  
    A dlaczego kombinacja?:)
    Albo mam 4x stop i 4x pozycje, a przy włączonym przeciwmgielnym mam standard.
    Chcę mieć tak, żeby przy włączonym przeciwmgielnym nikt się nie przyczepił.
    Lampy mają budowę prawie uniwersalną (w prawej jest zaślepione miejsce na przeciwmgielne), w krajach gdzie nie ma świateł przeciwmgłowych, taka lampa pracuje w układzie 4/4.
  • #17 15627710
    tzok
    Moderator Samochody
    kar78787878 napisał:
    Chcę mieć tak, żeby przy włączonym przeciwmgielnym nikt się nie przyczepił... Lampy mają budowę prawie uniwersalną (w prawej jest zaślepione miejsce na przeciwmgielne)
    Więc czemu nie użyjesz dedykowanej sekcji lampy do światła p. mgłowego (skoro ona jest w lewej lampie) tylko chcesz go realizować na jednej z dwóch żarówek od stopu? Co to za samochód? Nie ma czasem kontroli przepalonych żarówek?

    Nie widziałem jeszcze zespolonej lampy z dwoma dwuwłókowymi żarówkami, w której można by te żarówki zasilać oddzielnie. Zawsze zasilanie włókien o tej samej mocy z obu żarówek jest połączone równolegle wewnątrz lampy.
  • #18 15627735
    kar78787878
    Poziom 8  
    tzok,
    wszystko opisałem w postach powyżej, również auto. Raczej nie ma funkcji przepalonych żarówek.
    Opcję, którą proponujesz znam.

    Jeszcze raz.
    Dwie lampy, w każdej lampie dwie żarówki dwuwłóknowe (góra/dół).
    Sekcje górne działają standardowo (stop/pozycja).
    Sekcje dolne działają jak stop/pozycja jeśli nie jest włączone przeciwmgielne w lewej lampie.
    Kiedy włączam przecimgielne, to pali się ono tylko w dolnej żarówce lampy lewej, dolna sekcja w prawej lampie jest wygaszona.
    Dolna żarówka w lewej lampie ma pełnić trzy funkcje: pozycja/stop/przeciwmgielne.
  • Pomocny post
    #19 15627757
    tzok
    Moderator Samochody
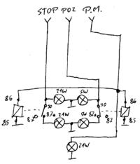
    To ja Ci też opisałem jak to zrobić, nawet narysowałem schemat (opisując numerację styków w/g "samochodowego standardu"), tylko nie mogę zrozumieć czemu koniecznie chcesz użyć stopu jako p. mgłowego skoro masz dedykowaną żarówkę do p. mgłowych ale to Twoja sprawa. Potrzebujesz czterech przekaźników ze stykiem normalnie zwartym (rozwiernym) lub dwóch podwójnych. Zamiast przekaźnika od żarówki stopu w lewej lampie możesz też użyć diody.

    Tu masz na samych przekaźnikach (co najmniej jeden ze stykiem przełączanym), dokładnie tak jak chciałeś:
    Żarówka pozycji/stop jako przeciwmgielne. Odłączanie sygnałów.

    Przy wyłączonym p. mgłowym obie lampy są spięte równolegle, po jego włączeniu dolne lampy zostają odłączone, a żarówka stopu lewej lampy zostaje przełączona do zasilania z obwodu światła p. mgłowego - o to Ci chodziło? Dzięki temu podczas hamowani, nie będzie się zaświecała ew. kontrolka świateł p. mgłowych.
  • #20 15627804
    kar78787878
    Poziom 8  
    tzok napisał:
    To ja Ci też opisałem jak to zrobić, nawet narysowałem schemat

    Tak, dziękuję. Niedawno zauważyłem, może w wyniku edycji postów.

    tzok napisał:
    tylko nie mogę zrozumieć czemu koniecznie chcesz użyć stopu jako p. mgłowego skoro masz dedykowaną żarówkę do p. mgłowych ale to Twoja sprawa.

    W jednej lampie mam miejsce tylko na dwie żarówki. Jeśli będą pełnić funkcje stopów (a chcę mieć 2 stopy na jednej lampie), to wtedy brak jest przeciwmgielnego. A w przypadku jego włączenia chce aby dolne sekcje działały jak dotychczas. Nie ma również (o ile wiem) żarówek trójwłóknowych.

    tzok napisał:

    Potrzebujesz czterech przekaźników ze stykiem normalnie zwartym (rozwiernym) lub dwóch podwójnych. Zamiast przekaźnika od żarówki stopu w lewej lampie możesz też użyć diody.


    Znalazłem również 4-stykowy Relpolu. Ale jeśli wchodzi w grę rozwiązanie z diodą w lewej lampie zamiast przekaźnika, to nie da się tego podobnie rozwiązać w prawej lampie, np. za pomocą...tyrystora?
  • #21 15627825
    tzok
    Moderator Samochody
    kar78787878 napisał:
    Ale jeśli wchodzi w grę rozwiązanie z diodą w lewej lampie zamiast przekaźnika, to nie da się tego podobnie rozwiązać w prawej lampie, np. za pomocą...tyrystora?
    Niestety nie, trzeba by dobudować układ sterujący.

    kar78787878 napisał:
    Znalazłem również 4-stykowy Relpolu.
    Mimo wszystko polecałbym 4-ry standardowe przekaźniki "samochodowe".

    kar78787878 napisał:
    W jednej lampie mam miejsce tylko na dwie żarówki.
    Czyli koniec końców prawe i lewe lampy są takie same i mają taką samą ilość żarówek/nie mają miejsca na dodatkową żarówkę światła p. mgłowego?
  • #22 15627836
    kar78787878
    Poziom 8  
    tzok napisał:

    kar78787878 napisał:
    Znalazłem również 4-stykowy Relpolu.
    Mimo wszystko polecałbym 4-ry standardowe przekaźniki "samochodowe".

    Czemu?

    Jeśli zastosuję Twoje rozwiązanie, to pewnie z diodą, a w prawej z przekaźnikiem. Czy tu też radzisz dwa odrębne, zamiast 2-stykowego?

    tzok napisał:
    kar78787878 napisał:

    W jednej lampie mam miejsce tylko na dwie żarówki.

    Czyli koniec końców prawe i lewe lampy są takie same i mają taką samą ilość żarówek/nie mają miejsca na dodatkową żarówkę światła p. mgłowego?

    Docelowo tak (cztery dwuwłóknowe). Obecnie lewa dwie żarówki (góra dwuwłóknowa, stop/pozycja), dół jednowłóknowa (p.m.). Prawa jedna górna żarówka dwuwłóknowa (stop/pozycja).
  • #23 15627842
    tzok
    Moderator Samochody
    Dla symetrii zrobiłbym na 4 przekaźnikach, ew. na 2 diodach (z dwoma przeciwmgłowymi, wtedy nie ma potrzeby odłączania pozycji).
REKLAMA