logo elektroda
logo elektroda
X
logo elektroda
REKLAMA
REKLAMA
Adblock/uBlockOrigin/AdGuard mogą powodować znikanie niektórych postów z powodu nowej reguły.

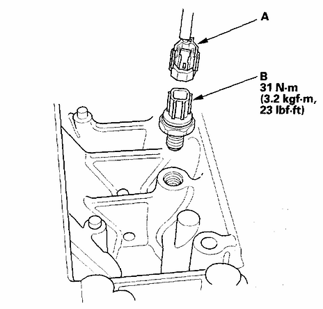
Honda HRV 2003 V-TEC - Moment dokręcenia czujnika spalania detonacyjnego

bigszu2 03 Sie 2016 14:14 2280 2
REKLAMA
  • #1 15846613
    bigszu2
    Poziom 10  
    Witam szanowne grono forumowiczów.
    Mam problem z samochodem marki Honda HRV v-tec z 2003 roku, otóż podczas demontażu dolotu rozleciał mi się czujnik spalania detonacyjnego - czujnik wkręcany w blok.
    Szukam od paru dni z jaką siłą trzeba go dokręcić taķ co by nie generował dziwnych błędów.
    Wyczytałem gdzieś , że siła z jaką bedzie dokręcony ma duże znaczenie dla jego bez awaryjnej pracy.
    Może ktoś z was orientuje się ile Nm trzeba mu przyłożyć???
    Wielkie dzięki za każdą odpowiedź.
    Dzieki i pozdrawiam
  • REKLAMA
  • #3 15857005
    bigszu2
    Poziom 10  
    Dzięki kolego
    Widzę że schemat jest od CRV , narazie dokręciłem swój czujnik tak po porostu i zobaczymy co będzie. Jak ponownie zgłosi się błąd do dokręcę czujnik z taką siłą jaką podałeś.
    Wielkie dzięki za fatygę.
    Pozdrawiam :shii: :shii: :shii: :shii:
REKLAMA