logo elektroda
logo elektroda
X
logo elektroda
REKLAMA
REKLAMA
Adblock/uBlockOrigin/AdGuard mogą powodować znikanie niektórych postów z powodu nowej reguły.

Audi A3 1.9tdi BXE 2009 - Szukam schematu instalacji wentylatorów chłodnicy

bibul 02 Mar 2017 22:31 4857 11
REKLAMA
  • #1 16319100
    bibul
    Poziom 20  
    Witam,
    potrzebuję informacji dokąd idzie wiązka od wentylatorów na chłodnicy, bo jakoś nie mogę znaleźć odpowiedniego schematu.

    Problem popularny z tymi wentylatorami - praca na pełnych obrotach zaraz po przekręceniu stacyjki.
    Jednak w tym konkretnym aucie wentylatory startują dopiero po chwili, czuć że sterownik zapina poszczególne biegi aż do maksimum. No i po wyłączeniu stacyjki wentylatory wyłączają się po dłuższej chwili.
    Profilaktycznie rozebrałem ten większy żeby pomierzyć mosfety w sterowniku i wszystkie są ok.

    Na diagunie błąd p1672.

    Jak rozumiem sterownik w silniku wentylatora nie ma połączenia z resztą auta (albo jest uszkodzony) więc załącza tryb awaryjny co by silnika auta nie przegrzać.

    Jak się dowiedziałem, auto miało dzwon z przodu więc jest możliwość że uszkodzona jest gdzieś wiązka, dlatego też pytam o kawałek schematu.
  • REKLAMA
  • Pomocny post
    #2 16319194
    marci4
    Poziom 31  
    Witaj,

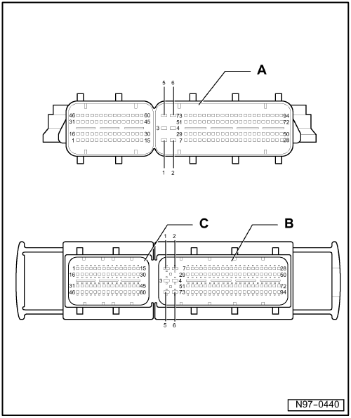
    Sterownik wentylatora:
    Audi A3 1.9tdi BXE 2009 - Szukam schematu instalacji wentylatorów chłodnicy

    Sterownik silnika:
    Audi A3 1.9tdi BXE 2009 - Szukam schematu instalacji wentylatorów chłodnicy

    Pinout sterownika silnika:
    Audi A3 1.9tdi BXE 2009 - Szukam schematu instalacji wentylatorów chłodnicy
  • Pomocny post
    #3 16319298
    grala1
    Specjalista grupy V.A.G.
    Dwa grube przewody to zasilanie.
    Dwa cienkie to plus po stacyjce i sygnał PWM.
    Ten po stacyjce nie ginie od razu po wyłączeniu zapłonu.
    Skoro włączają się po włączeniu zapłonu to plus po stacyjce jest.
    Zobacz czy na tym drugim cienkim masz PWM, wtedy będziesz wiedział czy to wiązka czy wentylator.
    Możesz też wysterować wentylator na stole, tam chyba było 50Hz.
  • #4 16320687
    bibul
    Poziom 20  
    Dzięki panowie za schematy i podpowiedzi.
    Jak tylko zajrzę do auta (znajomy właściciel, auto w użyciu) to zdam relację co i jak.
  • REKLAMA
  • #5 16320757
    Ireneo
    Poziom 42  
    Parametry zobacz,coś może każe dać na full.
  • #6 16320904
    bibul
    Poziom 20  
    Parametry podglądałem, temperatury z grubsza odpowiadały rzeczywistym na ecm, instrumentach i module klimatyzacji.
    Czytałem że w tym motorze ma być czujnik temp. cieczy G62 dwusekcyjny, ale jakoś widziałem tam pojedyńczy (2 przewody)?
    Jutro znajomy podjedzie, oscyloskop w łapy i będę coś więcej wiedział.
  • #7 16321727
    Ireneo
    Poziom 42  
    A czujnik ciśnienia klimatyzacji ile widzi?
  • REKLAMA
  • #8 16326950
    bibul
    Poziom 20  
    Dzisiaj znajomy wpadł na chwilę i jedynie zdążyłem sprawdzić przebieg PWM i plus stacyjki.
    Zdechła mi bateria w Diagunie, więc parametrów dziś nie podejrzałem.
    Sygnał PWM mam ok 4Hz, amplituda 3,6V, wypełnienie 1,5~4% dla temperatury cieczy ok 90°C - więc chyba coś nie tak?
  • #9 16327062
    grala1
    Specjalista grupy V.A.G.
    Jak dla mnie wentylator nie powinien pracować przy tych parametrach.
    Temperatura zbyt niska by się włączył.
    Trzeba było jeszcze zobaczyć jak klime włączysz.
  • #10 16338999
    bibul
    Poziom 20  
    No ok, ale chciałbym wykluczyć albo sterownik wentylatora albo ecm.

    Nie mogę znaleźć nigdzie charakterystyki sygnału PWM w funkcji temperatury.
    Czy aby na pewno sterownik sterowany jest PWM, czy może to jakaś magistrala?

    Skąd błąd p1672 na ecm?
  • #11 16339041
    grala1
    Specjalista grupy V.A.G.
    Jeżeli to jest magistrala to wygląda jak PWM.
    Błąd mówi o tym że jest otwarty obwód sterowania wentylatora czyli uszkodzona instalacja, uszkodzony wentylator lub uszkodzony EDC.
    Błąd pojawia się z tego powodu że EDC nie widzi wentylatora.
    Podłącz wentylator na stole i wysteruj go z generatora PWM.
  • REKLAMA
  • #12 16487669
    kryada
    Poziom 13  
    Audi a3 1,9 tdi bxe Witam podepnę się pod temat mianowicie wymieniłem ostatnio termostat bo przy temperaturach w granicach zera stopni miałem problem z osiągnięciem 90, po wymianie ewidentnie problem zniknął auto łapie 90 i trzyma , lecz pojawił się dziwne zjawisko mianowicie przy temperaturach +7 stopni i po dluzszej trasie 20 km gdy gasze auto to słyszę jak przestają kręcić się wentylatory chlodnicy, tez tak macie w swoich tdi kach ze nawet przy temperaturach niskich wlacza sie wentylator po dluzszej jezdzie ? , dodam ze temperatura jest caly czas 90, błędów brak, przed wymianą termostatu nigdy się wentylator nie załączył nawet w silne upały .
    Jeździłem z vcds i właczaja się prawdopodobnie na pierwszym biegu przy 91 stopniach- odczyt z czujnika g62 , na desce rozdzielczej temp.90 , czujnik G83 pokazuje 26 stopni więc chyba dobrze co może być przyczyną takiego zachowania , znalazłem jeszcze w blokach pomiarowych parametr coolant fan duty cycle 1 tylko nie wiem co ma na niego wpływ bo wychodzi ze caly czas maja być załączone wentylatory Audi A3 1.9tdi BXE 2009 - Szukam schematu instalacji wentylatorów chłodnicy
REKLAMA