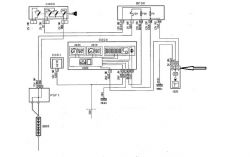
Witam, proszę kogoś o pomoc, mam problem z licznikiem predkosci w Peugeot 806 - nie wskazuje prędkości, wymieniłem czujnik prędkości oraz silniczek w liczniku i nadal nic, czy może mi ktoś powiedzieć na który pin w kostce przy liczniku wchodzi sygnał z czujnika na skrzyni? Licznik ma dwie kostki - żółta i niebieska, proszę o pomoc.
