logo elektroda
logo elektroda
X
logo elektroda
REKLAMA
REKLAMA
Adblock/uBlockOrigin/AdGuard mogą powodować znikanie niektórych postów z powodu nowej reguły.

[Rozwiązano] [Elektronika - WM5100] wzmacniacz audio, pytanie dotyczące złączy.

KSI AUDIO 17 Kwi 2019 17:18 1938 30
REKLAMA
  • #1 17911488
    KSI AUDIO
    Poziom 10  
    Witam!
    Dostałem dzisiaj wzmacniacz „Elektronika - WM5100” - polska myśl techniczna.

    Wzmacniacz działa na systemie 100V oraz zwykłym 2x50W 8Ohm.

    Teraz tak, prosiłbym żeby ktoś wytłumaczył mi te złącza.

    Załączam zdjęcie, ale wytłumaczę tez o co mi chodzi.


    Teraz tak; są tu 4 złącza do zestawu głośnikowego 50w 8ohm, a obok
    złącza 100V i 100W, a pod nimi złącza 30V 100W...

    Moje pytania;

    a) czy wzmacniacz pod wyjściami 100W wypuszcza faktycznie 100watt na np subwoofer?
    b) wyjścia 100V i 30V są jakoś do tego powiązane?
    c) czy obydwóch wyjść można używać na raz?
    d) jeżeli mam wpięte zestawy głośnikowe pod wyjścia 50W 8Ohm mogę używać wyjść 100W, 100V?

    Wytłumaczy mi to ktoś proszę :)


    Z góry dziękuje, pozdrawiam.

    Załączam zdjęcie;

    [Elektronika - WM5100] wzmacniacz audio, pytanie dotyczące złączy.



    Czy mogę używać wzmacniacza gdy wpięte są zestawy głośnikowe
  • REKLAMA
  • #2 17911558
    Konto nie istnieje
    Poziom 1  
  • REKLAMA
  • #3 17911563
    KSI AUDIO
    Poziom 10  
    Koderr napisał:
    Moim zdaniem dostałeś wzmacniacz radiowęzłowy. Wyjście pod tytułem "ZESTAWY GŁOŚNIKOWE" służą do podłączenia lokalnych głośników.
    "LINIA GŁOŚNIKOWA" to właśnie wyjścia radiowęzłowe.


    Tak, wcześniej służył do napędzania głośników tubowych, ale chciałbym wiedzieć o co chodzi z wyjściem 100W.
  • #4 17911569
    Konto nie istnieje
    Poziom 1  
  • #5 17911664
    kortyleski
    Poziom 43  
    Zasadniczo dla głośników domowych masz do wykorzystania tylko wyjścia 50W 8 omów. Nie znam połączeń wewnętrznych wzmacniacza, być może udało by się uzyskać 100W na czteroomowym głośniku z jednego z tych wyjść. Jest jeszcze trzecia droga, głośnik 8 omów podłączony pod wyjście 30V 100W.tam teoretycznie uzyskasz swoje 100W ale tylko na 8 omów.
  • #6 17912002
    KSI AUDIO
    Poziom 10  
    Czyli efekt 100w 8 ohm uzyskam podłączeniem kolorem żółtym czy niebieskim? [Elektronika - WM5100] wzmacniacz audio, pytanie dotyczące złączy.
  • #7 17912111
    kortyleski
    Poziom 43  
    Nie tak. Pod dwa czarne.
  • #8 17912225
    zworys
    Poziom 39  
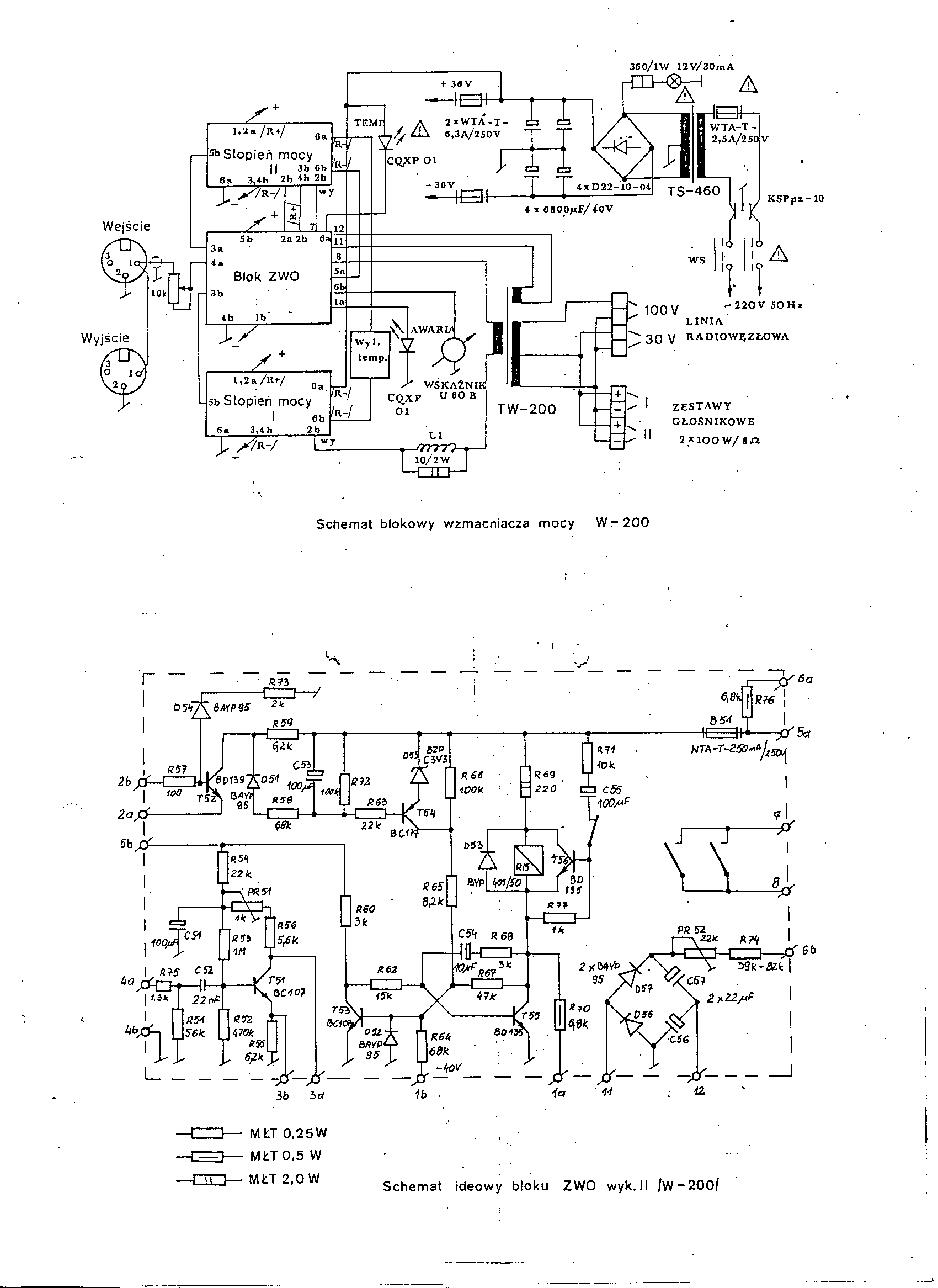
    Te 100V i 30V były wykorzystywane do zasilania głośników rozgłoszeniowych w obudowach których był transformator dopasowujący impedancję linii do impedancji głośnika. 100W to sumaryczne obciążenie na linii 100 lub 30V
    Jeśli W-200 i WM 5100 mają taki sam układ to wyjście wygląda tak
    [Elektronika - WM5100] wzmacniacz audio, pytanie dotyczące złączy.

    Czyli wyjścia głośnikowe i wyjście liniowe 30V są równoważne. Tyle ze moc całego zestawu wg wyjść głośnikowych to 100W. Na schemacie jest opis dla W-200
  • #9 17912381
    kortyleski
    Poziom 43  
    Czyli teoretycznie można wycisnąć 100W na czterech omach korzystając z wyjścia 30V
  • #10 17912618
    KSI AUDIO
    Poziom 10  
    Panowie ja chce tylko wiedzieć jak mogę i czy mogę się wpiąć pod te 100w korzystając na raz z wyjść na zestaw głośnikowy.
  • #11 17913054
    zworys
    Poziom 39  
    Tak jak masz na pierwszym zdjęciu w poście nr 1 - albo dwa zestawy ośmioomowe albo jeden czteroomowy podpięty pod którekolwiek wyjście głośnikowe ( czarne lub czerwone ) Można też podpiąć się kolumną czteroomową pod czarne zaciski linii głośnikowej. Łączna impedancja zestawu głośników podpiętych do kilku gniazd nie może być niższa niż 4 omy. Lepiej żeby te kolumny miały te 100W bo przy mniejszej mocy trzeba uważać z poziomem głośności żeby nie uszkodzić głośników.
  • #12 17913305
    KSI AUDIO
    Poziom 10  
    Czyli w „linie głośnikową” do zestawu czarnych zacisków mogę podpiąć 100w 4ohmowy, pod „zestaw głośnikowy” mogę podpiąć 8 ohm 50 wat, a pod zaciski 100V i 100W czerwone w linii głośnikowej co mogę podpiąć?
  • #13 17913328
    kortyleski
    Poziom 43  
    Olafix8880 napisał:
    Czyli w „linie głośnikową” do zestawu czarnych zacisków mogę podpiąć 100w 4ohmowy, pod „zestaw głośnikowy” mogę podpiąć 8 ohm 50 wat,

    Nie, nie możesz. Albo jedno albo drugie, na raz nie możesz bo spalisz wzmacniacz.
    Zaciski 100V sądla ciebie nie do wykorzystania.
  • REKLAMA
  • Pomocny post
    #14 17913478
    zworys
    Poziom 39  
    "Zestaw głośnikowy" i "linia 30V" są zrównoleglone więc to co tam podepniesz musi mieć całkowitą impedancję równą lub większą od 4 omów.Czyli - podłączasz jedną kolumnę może mieć 4 omy. Podłączasz dwie - powinny mieć po 8 omów, podłączasz trzy każda powinna mieć 12 omów . Linia 100V jest w przypadku podłączania kolumn nie do wykorzystania. Tam można podłączyć tylko głośniki radiowęzłowe z transformatorem 100V
  • #15 17914299
    KSI AUDIO
    Poziom 10  
    [Elektronika - WM5100] wzmacniacz audio, pytanie dotyczące złączy.

    Prościej będzie jak ktoś mi to narysuje, co jest zamiast tego zapytajnika :)
  • Pomocny post
    #16 17914381
    zworys
    Poziom 39  
    Tak jak na rysunku to - wartości mocy i impedancji są opisane obok złączy. W takim układzie i przy tych wartościach impedancji kolumn NIC więcej podłączyć nie można.
    Dalej - jeśli podłączasz którąkolwiek z kolumn ale jedną - dolną lub górną to może mieć impedancję 4 omy i więcej i moc 100W. Do linii głośnikowej tej czerwonej żadnych "normalnych" kolumn nie możesz podłączyć - tam podłącza się głośniki radiowęzłowe mające w obudowie transformator dopasowujący . Do czarnej linii głośnikowej możesz podłączyć kolumnę o impedancji 4 omy i więcej i mocy 100W - ale wtedy NIC nie podłączasz do wyjść głośnikowych. Jeśli chciałbyś podłączyć trzy kolumny to muszą mieć nietypową impedancję 12 lub więcej omów każda więc to raczej tylko teoria.
    Generalnie impedancja sumaryczna ( wypadkowa) kilku kolumn nie może być niższa niż 4 omy
    Wyjścia głośnikowe i linia głośnikowa 30V są połączone równolegle - należy o tym pamietać
  • #17 17914451
    KSI AUDIO
    Poziom 10  
    Ooo brawo dla pana, o taką odpowiedź mi chodziło :) to żeby podpiąć 3 kolumny musze obciążyć wzmacniacz 3x12ohm?
  • #18 17914492
    zworys
    Poziom 39  
    Tak ale trudno znaleźć kolumny o takiej impedancji. Za to spokojnie można podłączyć cztery kolumny 4- omowe, łącząc je po dwie szeregowo i podłączając pod wejścia głośnikowe.
    Impedancja obciążenia może być większa niż te 4 czy 8 omów ale nie może być niższa. Przy większej wzmacniacz nie odda całej mocy i tyle, natomiast niższa niż 4 ( lub 8 omów zależy od sposobu podpięcia ) może spowodować przeciążenie i uszkodzenie wzmacniacza.
  • #19 17917680
    KSI AUDIO
    Poziom 10  
    Panowie, a gdzie mógłbym wpiąć tu 4 ohmowy sub?
  • #21 17919332
    krzychupar
    Poziom 43  
    Do linii głośnikowej w radiowęzłach podłączamy głośniki jak na załączonym obrazku
    to jest tylko przykład. I w zależności ile mamy głośników i na jakie napięcie podłączamy albo do linii 100V lub 30V.
  • #22 17984147
    arklor88
    Poziom 9  
    Witam
    Przepraszam że się wtrącę ale nie chcę zakładać nowego tematu a chodzi o wyżej wymieniony wzmacniacz " Elektronika WM5100. Przeszukałem troszkę internet i niestety z marnym skutkiem, a mianowicie poszukuję schematu tego wzmacniacza. Czy ktoś mógłby służyć pomocą ?
  • REKLAMA
  • #28 17987483
    KSI AUDIO
    Poziom 10  
    arklor88 napisał:
    Brakuje i to sporo np. Stopnia wejściowego mikrofonów , bloku korektora. Napisałem do producenta i otrzymałem kompletny schemat . Z mojej strony dziękuję za pomoc.



    Gdzie ty znalazłeś do nich kontakt ? :)
  • Pomocny post
    #29 17987748
    zetdeel
    Poziom 39  
    Olafix8880 napisał:
    Gdzie ty znalazłeś do nich kontakt ? :)
    Np. tu: https://www.elektronika-legionowo.com.pl/kontakt.php
REKLAMA