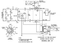
Ile by kosztowało zaprojektowanie płytki z takim urządzeniem jak na tym prymitywnym rysunku, powiązanym z liniami telefonicznymi.
Zalecane jest aby projekt wykonać zgodnie z standardami telefonii stacjonarnej.
Chciałbym aby projekt zmieścił się tak aby zakwalifikował się jako prototyp do wykonania za 5 $.
tytuł:"Radiowo-telefoniczne nawiązywanie kontaktów."
Stanowcze cięcie po kosztach wynalazcy, który ledwo ma na własne utrzymanie.
Szczegóły napiszę jak, znajdzie się wykonawca, i przystanę na warunki.
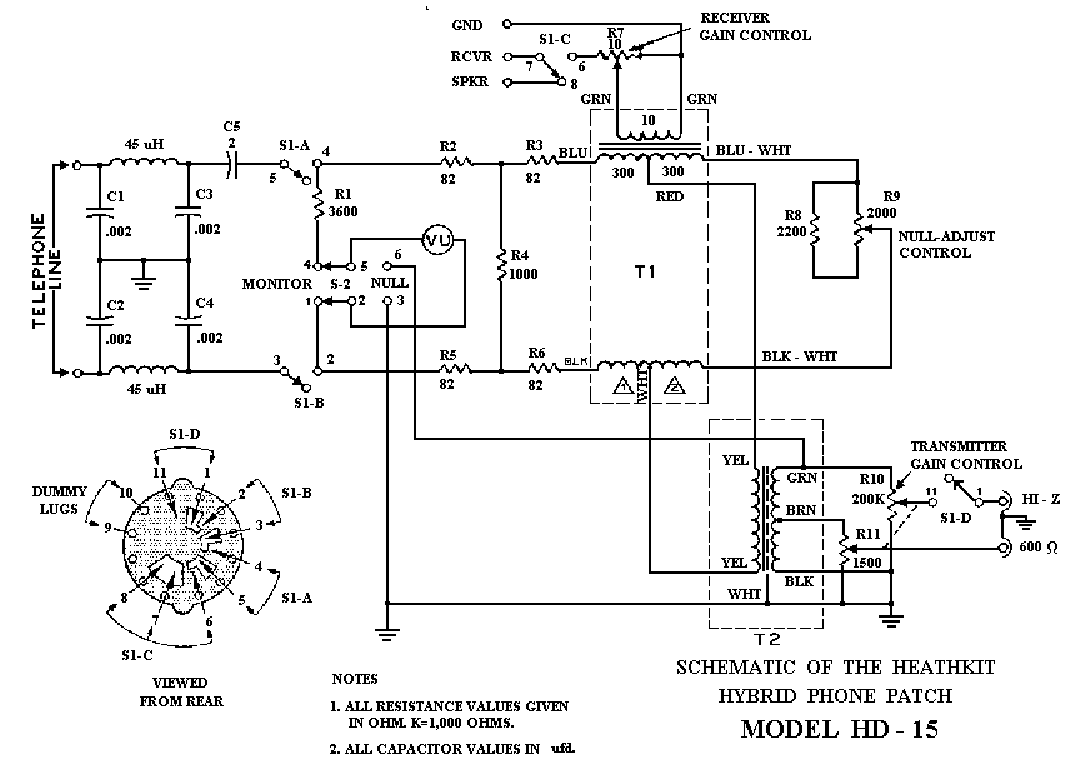
![[Zlecę] Zalecane jest wykonanie zgodnie z standardami telefonii stacjonarnej. [Zlecę] Zalecane jest wykonanie zgodnie z standardami telefonii stacjonarnej.](https://obrazki.elektroda.pl/3049704000_1582392967_thumb.jpg)
Zalecane jest aby projekt wykonać zgodnie z standardami telefonii stacjonarnej.
Chciałbym aby projekt zmieścił się tak aby zakwalifikował się jako prototyp do wykonania za 5 $.
tytuł:"Radiowo-telefoniczne nawiązywanie kontaktów."
Stanowcze cięcie po kosztach wynalazcy, który ledwo ma na własne utrzymanie.
Szczegóły napiszę jak, znajdzie się wykonawca, i przystanę na warunki.
