Centralka MetaSystem HPA US/M05 Rev 03. W komplecie syrena M03. Załączam zdjęcie kompletu.
Z tyłu plomba gwarancyjna z 2012r., więc jak widać jakiś leżak magazynowy do mnie trafił.
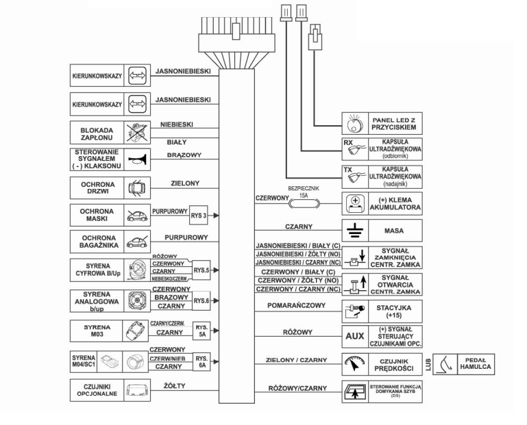
Mój problem polega na tym, że w żadnej z instrukcji instalatora jakie znalazłem czy to tutaj na elektrodzie, czy w internecie (też na metasystem.it) nie ma takich kolorów wiązki jaką mam u siebie.
Mogę rozpisać swoją wiązkę pin po pinie później jeśli taka potrzeba zajdzie, natomiast 2 charakterystyczne szczegóły wiązki - dwa kabelki jasno niebieskie i brak czarnego (no to gdzie ta masa?), no i okrągłe piloty, czyli pewnie potrzebuję starszą wersję instrukcji niż te co można znaleźć w internecie.
Z góry dzięki za pomoc.

Dodano po 41 [minuty]:
Dorzucam jeszcze kolory wiązki na zbliżeniu.
Może ktoś ma taką wiązkę, ale z kolorami jak w schematach dla porównania?
Dziękuję.
Z tyłu plomba gwarancyjna z 2012r., więc jak widać jakiś leżak magazynowy do mnie trafił.
Mój problem polega na tym, że w żadnej z instrukcji instalatora jakie znalazłem czy to tutaj na elektrodzie, czy w internecie (też na metasystem.it) nie ma takich kolorów wiązki jaką mam u siebie.
Mogę rozpisać swoją wiązkę pin po pinie później jeśli taka potrzeba zajdzie, natomiast 2 charakterystyczne szczegóły wiązki - dwa kabelki jasno niebieskie i brak czarnego (no to gdzie ta masa?), no i okrągłe piloty, czyli pewnie potrzebuję starszą wersję instrukcji niż te co można znaleźć w internecie.
Z góry dzięki za pomoc.
Dodano po 41 [minuty]:
Dorzucam jeszcze kolory wiązki na zbliżeniu.
Może ktoś ma taką wiązkę, ale z kolorami jak w schematach dla porównania?
Dziękuję.