Zlecę zaprogramowanie sterownika PLC lub podobnego aby spełnił następujące zadania:
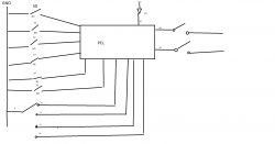
-PCL --prosty moduł PLC
-S0 –włącznik monostabilny
- S1 ….S5 kontaktory sterowane pływakami
-P1..P4 przełącznik 4 pozycyjny bistabilny
W1,W2 Sterowanie cewkami przekaźników
W3 wyjście na diodę led
Logika:
--gdy S4 otwarte nie zależnie czy układ włączony czy nie na W3 napięcie zapalające diodę led
Gdy P4 zwarte do masy to układ czeka na zamkniecie S5 po zamknięciu załącza W1 i W2 i czeka nie zależnie od stanu S5 na rozwarcie S3
Gdy nastąpi rozwarcie S3 układ wyłączy W1i W2
Włączenie W1 i W2 na max 3godziny
-Gdy P1 , P2 P3 zwarte do masy to impuls z przycisku S0 układ załącza się włącza się taj mer ustawiony na 3 godziny. Jeśli nie nastąpi wyłączenie w inny sposób po 3 godzinach układ się wyłączy.
- Ponowny impuls z S0 wyłącza układ
- Gdy (P1 do masy ) po włączeniu (czyli przyciśnięciu S0) to:
-Sprawdza czy (S1) otwarte i zwiera (W1)
-sprawdza (S3) gdy zamknięte zwiera (W2)
Rozwarcie S3 wyłącza W2 i czeka na zwarcie S1
Zwarcie S1 wyłącza wyłącza W1 i układ
Działa to tylko raz po naciśnięciu Start i zwarcie lub rozwarcie S1 ,S3 nie powoduj ponownego załączenia (W1 i w2)
- Gdy (P2 zwarte do masy ) po włączeniu (czyli przyciśnięciu S0) to:
-Sprawdza czy (S2) otwarte i zwiera (W1)
-sprawdza (S3) gdy zamknięte zwiera (W2)
Rozwarcie S3 wyłącza W2 i czeka na zwarcie S2
Zwarcie S2 wyłącza wyłącza W1 i układ
Działa to tylko raz po naciśnięciu Start i zwarcie lub rozwarcie S2 S3 nie powoduj ponownego załączenia (W1 i W2)
Gdy (P3) po włączeniu (czyli przyciśnięciu S0)
- -sprawdza (S3) gdy zamknięte zwiera (W1 i W2)
Rozwarcie (S3) wyłącza (w1 i W2) wyłącza układ
-PCL --prosty moduł PLC
-S0 –włącznik monostabilny
- S1 ….S5 kontaktory sterowane pływakami
-P1..P4 przełącznik 4 pozycyjny bistabilny
W1,W2 Sterowanie cewkami przekaźników
W3 wyjście na diodę led
Logika:
--gdy S4 otwarte nie zależnie czy układ włączony czy nie na W3 napięcie zapalające diodę led
Gdy P4 zwarte do masy to układ czeka na zamkniecie S5 po zamknięciu załącza W1 i W2 i czeka nie zależnie od stanu S5 na rozwarcie S3
Gdy nastąpi rozwarcie S3 układ wyłączy W1i W2
Włączenie W1 i W2 na max 3godziny
-Gdy P1 , P2 P3 zwarte do masy to impuls z przycisku S0 układ załącza się włącza się taj mer ustawiony na 3 godziny. Jeśli nie nastąpi wyłączenie w inny sposób po 3 godzinach układ się wyłączy.
- Ponowny impuls z S0 wyłącza układ
- Gdy (P1 do masy ) po włączeniu (czyli przyciśnięciu S0) to:
-Sprawdza czy (S1) otwarte i zwiera (W1)
-sprawdza (S3) gdy zamknięte zwiera (W2)
Rozwarcie S3 wyłącza W2 i czeka na zwarcie S1
Zwarcie S1 wyłącza wyłącza W1 i układ
Działa to tylko raz po naciśnięciu Start i zwarcie lub rozwarcie S1 ,S3 nie powoduj ponownego załączenia (W1 i w2)
- Gdy (P2 zwarte do masy ) po włączeniu (czyli przyciśnięciu S0) to:
-Sprawdza czy (S2) otwarte i zwiera (W1)
-sprawdza (S3) gdy zamknięte zwiera (W2)
Rozwarcie S3 wyłącza W2 i czeka na zwarcie S2
Zwarcie S2 wyłącza wyłącza W1 i układ
Działa to tylko raz po naciśnięciu Start i zwarcie lub rozwarcie S2 S3 nie powoduj ponownego załączenia (W1 i W2)
Gdy (P3) po włączeniu (czyli przyciśnięciu S0)
- -sprawdza (S3) gdy zamknięte zwiera (W1 i W2)
Rozwarcie (S3) wyłącza (w1 i W2) wyłącza układ