Witam
Problem z brakiem wspomagania w Opel Zafira A
1.8
2005r
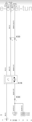
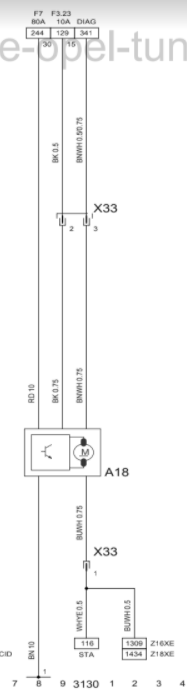
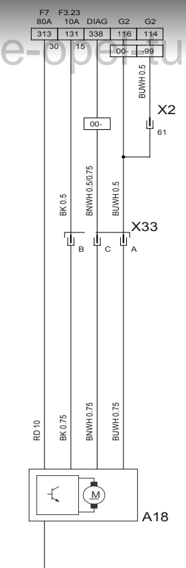
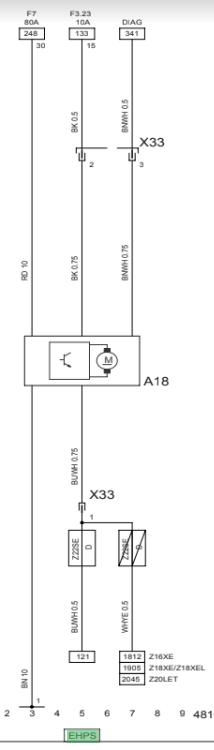
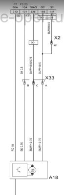
Wspomaganie elektryczno-hydrauliczne. EHPS
Zasilanie stałe (grube przewody) jest
+12V i masa
Wg wszystkich schematów powinno być jeszcze zasilanie po zapłonie i sterowanie (tu jest różnie, raz z alternatora, raz z ECU. Zależy od rocznika i wersji silnikowej)
W każdym schemacie pin zasilania po zapłonie to pin numer 2 (środkowy)
U mnie jest to pin skrajny. 1 albo 3 ( nie pamiętam numeracji)
Kolorystyka przewodów też się nie zgadza. Są jednokolorowe a nie dwu (wg schematów)
Wszystko wygląda na oryginał. Nie grzebane przy kostce. Nie cięte, nie izolowane.
Co myślicie o tym?

Problem z brakiem wspomagania w Opel Zafira A
1.8
2005r
Wspomaganie elektryczno-hydrauliczne. EHPS
Zasilanie stałe (grube przewody) jest
+12V i masa
Wg wszystkich schematów powinno być jeszcze zasilanie po zapłonie i sterowanie (tu jest różnie, raz z alternatora, raz z ECU. Zależy od rocznika i wersji silnikowej)
W każdym schemacie pin zasilania po zapłonie to pin numer 2 (środkowy)
U mnie jest to pin skrajny. 1 albo 3 ( nie pamiętam numeracji)
Kolorystyka przewodów też się nie zgadza. Są jednokolorowe a nie dwu (wg schematów)
Wszystko wygląda na oryginał. Nie grzebane przy kostce. Nie cięte, nie izolowane.
Co myślicie o tym?