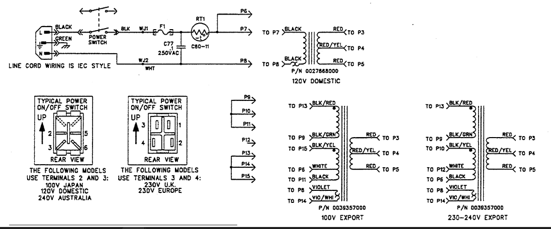
Witam, poszukuję schematu podłączenia płytki pod zasilanie, bo dostałem do naprawy wzmacniacz gitarowy Fender deluxe 90 z wyciągniętą już płytką, włożyłem już ją, i teraz nie wiem gdzie który przewód ma być wpięty, podeślę fotki płytki, może z was ktoś ma coś podobnego, część przewodów podłączyłem wedle oznaczeń, ale też nie mam pewności czy dobrze, bo kolory są takie same.
