Witam serdecznie.
W ramach walki z nudą postanowiłem zajrzeć do swojego radia CB, które kilka lat temu podłączyłem do 24 V.
W tej chwili radio po podłączeniu zasilania 12 V uruchamia się od razu, bez względu na pozycję potencjometru on/vol. Wyświetla nr kanału i reaguje na na jego zmianę. W głośniku cisza, nie reaguje na regulację potencjometrem vol. Po naciśnięciu PTT nośna jest, ale modulacji brak. Na innym radiu ustawionym na tym samym kanale słychać, że to uszkodzone radio przechodzi w stan nadawania, ale nie nic poza tym.
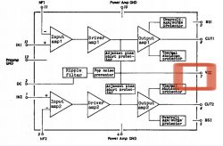
Próbowałem podmienić tranzystor końcówki mocy i elementy, które zaznaczyłem na fotografii. Chyba stabilizator napięcia (nie jestem biegły w temacie), niestety bez efektu.
Czy jest ktoś w stanie w prosty sposób coś podpowiedzieć? Co i jak sprawdzić?
W których miejscach dokonać pomiarów? Zależy mi na tym radiu i chciałbym je sam naprawić.
W ramach walki z nudą postanowiłem zajrzeć do swojego radia CB, które kilka lat temu podłączyłem do 24 V.
W tej chwili radio po podłączeniu zasilania 12 V uruchamia się od razu, bez względu na pozycję potencjometru on/vol. Wyświetla nr kanału i reaguje na na jego zmianę. W głośniku cisza, nie reaguje na regulację potencjometrem vol. Po naciśnięciu PTT nośna jest, ale modulacji brak. Na innym radiu ustawionym na tym samym kanale słychać, że to uszkodzone radio przechodzi w stan nadawania, ale nie nic poza tym.
Próbowałem podmienić tranzystor końcówki mocy i elementy, które zaznaczyłem na fotografii. Chyba stabilizator napięcia (nie jestem biegły w temacie), niestety bez efektu.
Czy jest ktoś w stanie w prosty sposób coś podpowiedzieć? Co i jak sprawdzić?
W których miejscach dokonać pomiarów? Zależy mi na tym radiu i chciałbym je sam naprawić.
