logo elektroda
logo elektroda
X
logo elektroda
REKLAMA
REKLAMA
Adblock/uBlockOrigin/AdGuard mogą powodować znikanie niektórych postów z powodu nowej reguły.
REKLAMA
  • #1 2047342
    fafal23
    Poziom 12  
    Kupiłem go dosyć dawno temu, kiedy jeszcze kosztował ładne pieniądze, ale nie mam co żałować, nigdy mnie nie zawiódł.
    Z kartą 512 zrobiłem już pare płyt naprawdę fajnych zdjęć.

    Od pewnego czasu zauważyłem w nim pewną usterkę.
    W chwili kiedy obiektyw wysówa się do przodu (większy zoom) słychac pukanie. Jest to rytmiczne i powtarzające się pukanie, ale tylko kiedy wysówa się do przodu. Przy powrocie jest ok.
    Podejrzewam, że ktoś uderzył w obiektyw i poleciała jakaś zembatka.
    Zastanawia mnie tylko, że jak zmniejszam zoom jest w porządku. Rozbierałem już obudowę, ale z tyłu, czyściłem wyświetlacz i przełącznik trybu wyświetlania i robienia zdjęć. Jednak z przodu jeszcze nie rozbierałem i chciałbym się upewnić, że jak rozkręcę to to złożę z powrotem.
    Nie wiem czy ruszać optykę, czy będę w stanie ją potem ustawić, jeśli się ją w jakś sposób ustawia bo jeszcze tego nie widziałem.
    Nie wiem czy w ogóle się za to brać, bo jeśli moje podejrzenia się sprawdzą to gdzie znajdę taką zębatkę?
    Może ktoś wie co jest grane, lub zdejmował optykę w tym aparaciku?
    Może ktoś dysponuje: opisami, schematami serwisowymi, montażowymi i innymi które mogłyby mi pomóc?

    Z góry dziękuję!
  • REKLAMA
  • #2 2047655
    Agentlos
    Poziom 25  
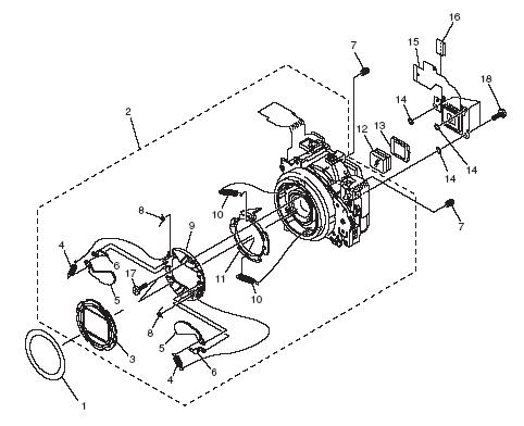
    Witam. Poszukaj na tej stronie: http://www.eserviceinfo.com/. Z tego co widzę o troszkę tego jest. Tu masz linka do wyników. Z pierwszego z brzegu widać już schemat budowy mechanicznej aparatu - o ile chodzi o CANON POWERSHOT A60. W pdf'ach są opisy poszczególnych części. Miłego szukania. Mam nadzieję że o to Tobie chodziło.
  • REKLAMA
  • #3 2055016
    fafal23
    Poziom 12  
    Dzięki!

    Napewno mi to pomoże.
    Zastanawiam się tylko, co zrobić jak już to rozbiorę i się okaże, że trzeba coś kupić. Gdzie to znaleźć?!
    Zobaczymy co z tego wyjdzie!

    Jeszcze raz serdecznie dziękuję!
  • REKLAMA
  • #4 2057420
    Agentlos
    Poziom 25  
    Co do kupinienia części zamiennych to chyba jednynie z innych uszkodzonych aparatów. Osobno nie sprzedają. Miejmy nadzieję, że to nic poważnego... Ewentualnie w grę wchodzi dorobienie jakiegoś elementu samemu oczywiście w miarę możliwości - wiadomo że nie będziesz piłował jakichś miniaturowych elementów :P .
  • #5 2064736
    fafal23
    Poziom 12  
    Też tak uważam.
    Jak rozmontuje, to dam znać!
REKLAMA