logo elektroda
logo elektroda
X
logo elektroda
REKLAMA
REKLAMA
Adblock/uBlockOrigin/AdGuard mogą powodować znikanie niektórych postów z powodu nowej reguły.

Rozdzielenie sygnału antenowego na 2 pokoje: jaki rozdzielacz i symetryzator?

-=FR!P!N=- 21 Mar 2024 12:27 306 6
REKLAMA
  • #1 21013277
    -=FR!P!N=-
    Poziom 11  

    Cześć,
    przeprowadzam częściowy remont i chciałbym rozdzielić sygnał antenowy z instalacji bloku na 2 pokoje:
    - pokój 1: gniazdo antenowe, do którego na tę chwilę nie będzie nic podłączone
    - pokój 2: telewizor i 2 odbiorniki radiowe, oraz przynajmniej jedno gniazdo rezerwy na rozdzielaczu

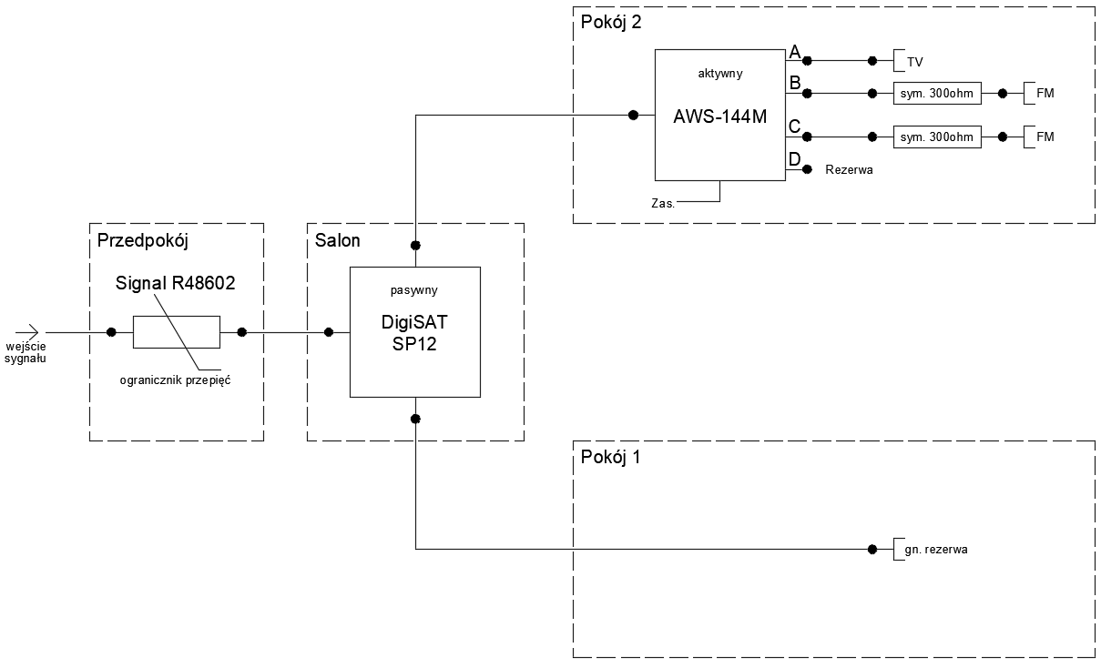
    Kabel antenowy wchodzi do mieszkania i przy drzwiach wejściowych w puszce na kablu założony jest ogranicznik przepięć Signal R48602. Dalej kabel idzie w ścianach i podłodze do kolejnej puszki, gdzie znajduje się rozdzielacz pasywny DigiSAT SP12, który rozdziela sygnał na dwa pokoje, jak opisałem powyżej.

    W pokoju 2 sygnał będzie wyprowadzony na gniazdo antenowe. Nie wiem, co dalej powinienem zamontować i prosiłbym o radę. Myślałem, aby dalej zastosować rozdzielacz aktywny AWS-144M i z niego poprowadzić kabel do telewizora (wyjście A), a dwa następne wyjścia do odbiorników radiowych. Na końcu jednego (lub może obu) z kabli zamontowany będzie symetryzator 300 ohm. W ostatnie wyjście zamontować rezystor terminujący. Czy taka konfiguracja ma sens? Czy coś wypadałoby pozmieniać?

    Nie wiem, jaka jest w budynku zamontowana antena i jak ten sygnał jest rozdzielany między piętrami lub poszczególnymi mieszkaniami, ale do tej pory telewizor był podpięty bezpośrednio do gniazda w ścianie i odbierał sygnał poprawnie. Po zamianie kabla do jednego z odbiorników radiowych tuner również działał i odbierał wiele stacji z mocnym sygnałem.
  • REKLAMA
  • #2 21013497
    k45i89o98j66
    Poziom 38  
    Rozrysuj i tu wrzuć.
  • REKLAMA
  • #3 21014348
    -=FR!P!N=-
    Poziom 11  
    Rozdzielenie sygnału antenowego na 2 pokoje: jaki rozdzielacz i symetryzator?
  • REKLAMA
  • #4 21014370
    LEDówki
    Poziom 42  
    Symetryzator służy do dopasowania impedancji dipola do impedancji kabla. U Ciebie już jest kabel 75 omów na wejściu, więc symetryzator jest zbędny. Chyba, że chcesz podłączyć telewizor lub radio z wejściem symetrycznym (charakterystyczna płaska wtyczka), to wtedy symetryzator będzie potrzebny.
  • #5 21014405
    -=FR!P!N=-
    Poziom 11  
    Telewizor ma normalne (okrągłe) gniazdo antenowe. Radia mają właśnie wejścia symetryczne dlatego są symetryzatory.
  • REKLAMA
  • #6 21014977
    LeDy
    Poziom 43  
    Najpierw to musisz wiedzieć jak jest zrobiona instalacja zbiorcza, na co pozwala.
    Wtedy będzie wiadomo co można zrobić, rozdzielić na ile.
  • #7 21018776
    irekr
    VIP Zasłużony dla elektroda
    Jedna z dobrych zasada mówi, że w instalacjach antenowych nie zostawia się odcinków linii nie używanych lub nie zamkniętych obciążeniem/terminatorem.
    Ja bym w tej instalacji zdemontował dzielnik w salonie i połączył "beczką" kable między przyłączem a "pokojem 2".
    Jeżeli jest to trudne to wskazane jest założyć terminator/opornik obciążenia na kabel w "pokoju 1".

    Oddzielny temat to użycie aktywnego AWS-a. Ja bym unikał jakichkolwiek elementów aktywnych w instalacji.
REKLAMA