logo elektroda
logo elektroda
X
logo elektroda
REKLAMA
REKLAMA
Adblock/uBlockOrigin/AdGuard mogą powodować znikanie niektórych postów z powodu nowej reguły.

Akustycy elki łaczcie sie! :) Dobry sub czy kiszka?

chaka 24 Paź 2006 12:00 1376 9
REKLAMA
  • #1 3148015
    chaka
    VIP Zasłużony dla elektroda
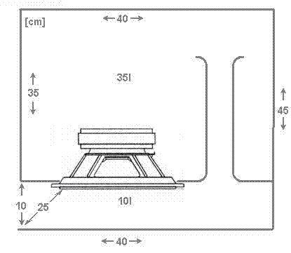
    Witam, mam w planach zbudowanie takiego suba jak na obrazku (ukosny wymiar to glebokosc) Czy taki typ obudowy (jak dotąd niezbadany:) ) Ma prawo poprawnie funkcjonowac i wystarczy policzyc go jako zwyklego br (przy zalozeniu ze gardziel wylotu bedzie >= powierzchni membrany(ew. + pow br)) Pytanie czy ten kanal w ktorym sumowac sie beda fale z glosnika i br nie bedzie powodowal podbarwien. Zupelnie nie wiem jak do tego podejsc.
    Taki typ obudowy podyktowany jest miejscem w ktorym bedzie stala, a mianowicie miedzy szafa a sciana a jej przednia scinka zaslonieta bedzie czesciowo przez drzwi od balkonu:D W przypadki normalnego br ktory akutalnie tam stoi, od basu glosniej graja wszystkie meble:) Glosnik ktory czeka na domek to GDN 20/80/2.
  • REKLAMA
  • #2 3148203
    glurak
    Poziom 25  
    Ciekawy pomysl, ale moim zdaniem fale z b-r i przodu beda sie nakladac, wiec pewne czestotliwosci beda wzmocnione a inne stlumione. Meble i tak beda drgac. Byc moze linia transmisyjna tu pomoze.
  • REKLAMA
  • #3 3148248
    ghost666
    Tłumacz Redaktor
    Linia transmisyjna bedzie ooogroomna... A to troszke mi bandpassa przypomina... Pozatym - b-r działą AFAIK w przeciwfazie do membrany...
  • #4 3148363
    wiezlak
    Poziom 35  
    Zagadkowa koncepcja. Wydaje mi się, że tylko pewne zakresy częstotliwości będą na tym korzystać inne zaś będą wytłumione - tak jak mówi kolega glurak. Ciekawe, w jakiej częstotliwości nastąpi korzystne nałożenie faz i czy to możliwe do policzenia - jeśli nie, to zostaną chyba tylko eksperymenty z dokładaną i regulowaną przystawką pod portem BR i membraną głośnika oraz ze strojeniem BR.
  • #5 3148922
    yvr
    Poziom 17  
    Jasne ze ma prawo toto dzialac. Ten tunel do ktorego beda dmuchaly wspolnie glosnik i wylot, bedzie dzialal jak cewka wpieta szeregowo, czyli filtr dolnoprzepustowy. To jest zwyczajny bandpass podwojnie wentylowany typu B. Zanim jednak sprobujesz to zbudowac, lepiej policz sobie w programie SpeakerShop Enclosure firmy JBL.
  • REKLAMA
  • #6 3149337
    chaka
    VIP Zasłużony dla elektroda
    ok ale skoro to band pass to jaka jest czestotliwosc strojenia dolnej komory?:]
  • #7 3149459
    wiezlak
    Poziom 35  
    chaka napisał:
    ok ale skoro to band pass to jaka jest czestotliwosc strojenia dolnej komory?:]


    Otóż to - dolna komora w tym przypadku nie istnieje - to raczej jest tunel/rezonator. Nie jestem pewnien, czy taka obudowa podlega pod definicje obudowy badnpass...
  • REKLAMA
  • #8 3149587
    chaka
    VIP Zasłużony dla elektroda
    mi tez sie wydaje ze to jednak bedzie zwykly br bo dolna komora nie stwarza oporu dla powietrza bo jej powierzchnia jest wieksza od membrany.
  • #9 3150670
    Tremolo
    Poziom 43  
    To jest bandpass szeregowy. Zazwyczaj się buduje bandpasy rownolegle, gdzie z dwoch komór wysylamy na zewnątrz. Wygląda że yaki krotki zalom da z siebie wysokie Fb i moga być rożne dziwne rzeczy.

    Własciwie to jest rezonator wnękowy z dziurą BR doprowadzona z jednej komory. Taki pół lini transmisyjnej, ćwierć tuby, 2/3 labiryntowego BR.

    Wstawiłem dane do BB on takie coś liczy i okazuje się ze zaryzykowalem że ten drugi otwór ma strojenie 120 Hz przy podaniu 10x25cm (bo tyle wyliczyłem że skrzynia ma glebokosci (wystarczylo by rzut podać albo odpowiedni symbol nie trzeba by liczyć)wychodzi że cały ten otwór u gory ma taką czestotliwośc. Wychodzi tak że do Fb z otworu wewnętrznego dodaje się rezonan komory drugiej bedącej BR i dzięki czemu cos wypadkowego powstaje. Ale, że ten drugi BR ma większy przekrój no to i wyższe strojenie da z siebie wysoki PIK częstotliwościowy tyle podaje BB z analizy. MOze jakby BR był z boku... rownolegle... wtedy wyglądało by to lepiej.

    jak będize naprawde sprawdź. ja robiłem coś takiego z kolumną closed. Ty weź obuduj BR z tym lośnikiem 40 litrów na 35-40Hz to standard połóz go na podłodze BR do dołu i dookoła daj inne kolumny albo szafki i zobaczysz. U mnie z Closed zrobił się potężny rezonans niedający się sluchac i niedający spac sąsiadkom.
    Pomogłem? Kup mi kawę.
  • #10 3155272
    chaka
    VIP Zasłużony dla elektroda
    Szkoda zachowu wiec na takie kombinacje. Zmiana planow:

    Akustycy elki łaczcie sie! :) Dobry sub czy kiszka?
    co Wy na to?
    Akustycy elki łaczcie sie! :) Dobry sub czy kiszka?

    A jak nie bedzie to gralo jak chce to srodkowa scinka pojdzie na zewnatrz i bedzie sprawdzony br.
REKLAMA