Witam!
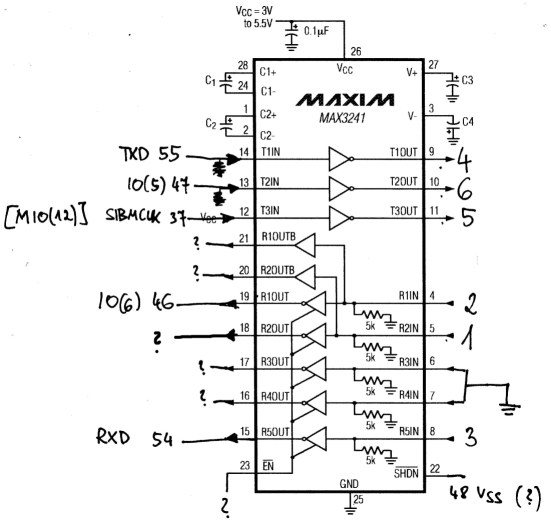
Jestem 'szczęśliwym' posiadaczem palmtop-a Sharp HC-4600. Mój problem polega na tym, że nie mam do niego kabelka do synchronizacji danych. Wiem, mogę zsynchronizować dane poprzez IRDA ale to nie to samo co kabelek
. Sądziłem, że uda mi się samemu wykonać taki kabelek, jednak... Nie udało mi się. Zamieszczam to co mniej więcej mi się udało wynaleźć.
Lub może ktoś ma taki kabelek do tego palmtop-a i mógłby go rozebrać i podzielić się informacją jak są piny po podłączane?
Kliknij, aby powiększyć
Acha, podłączenia znajdujące się po lewej stronie tego schematu są bezpośrednie do procesora... Tam gdzie jest znak zapytania - nie udało mi się znaleźć połączenia, lub w ogóle nie jest podłączony. Procesor to PR31700.
Pozdrawiam
Jestem 'szczęśliwym' posiadaczem palmtop-a Sharp HC-4600. Mój problem polega na tym, że nie mam do niego kabelka do synchronizacji danych. Wiem, mogę zsynchronizować dane poprzez IRDA ale to nie to samo co kabelek
Lub może ktoś ma taki kabelek do tego palmtop-a i mógłby go rozebrać i podzielić się informacją jak są piny po podłączane?
Kliknij, aby powiększyć
Acha, podłączenia znajdujące się po lewej stronie tego schematu są bezpośrednie do procesora... Tam gdzie jest znak zapytania - nie udało mi się znaleźć połączenia, lub w ogóle nie jest podłączony. Procesor to PR31700.
Pozdrawiam
