logo elektroda
logo elektroda
X
logo elektroda
REKLAMA
REKLAMA
Adblock/uBlockOrigin/AdGuard mogą powodować znikanie niektórych postów z powodu nowej reguły.

exodus, autoalarm, jak podłączyć zasilanie?

moby17 28 Lut 2007 17:46 1923 6
REKLAMA
  • #1 3628285
    moby17
    Poziom 11  
    witam kupiłem sobie auto alarm zeby móc podłaczyć centralny zamek i mianowicie mam problem jak moge podłóaczyć do niego zasilanie to sa te dwa grube kable po prawej stronie czy moze mam podlaczyc kabelek do stacyjki + (zółty1) i drugi masa - (biały 2)....to mi wystarczy z zasilanie??
  • REKLAMA
  • #2 3628698
    jg11
    Poziom 21  
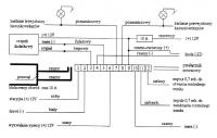
    wykonaj połączenia zgodnie z załączonym schematem.Zasilanie to czerwony , żółty i czarny.Pozdrawiam.
  • REKLAMA
  • #3 3628699
    mr-perch
    Poziom 29  
    moby17 namotałeś w swoim poście tak, że trudno zrozumieć. Pomogę, ale napisz poprawnie (najlepiej po polsku), dodaj o jaki samochód chodzi (marka, model, rok), czy ma fabryczny central, czy dokładany...
  • REKLAMA
  • #4 3629253
    bartek_p
    Poziom 31  
    Przecież na tym schemacie masz wszystko jak na dłoni??
  • #5 3629681
    xwit
    Poziom 33  
    No co wy chłopaki to jest nie jasno napisane :D Może trzeba mu drukowanymi albo rysunki porobić?
  • REKLAMA
  • #6 3629779
    moby17
    Poziom 11  
    mam peugeot 306 95 centralnego własnie nie mam i chce załażyć sam centralny bez alarmu ale pogubiłęm sie jak mu dać zasilanie. Gość mi dał taki zestaw bo zwykła centralka na pilota nie miała niby zmiennych kodów a to juz ma. wiem ze od 1-5 to jest kostka od alarmu a reszta to centralny. Tylko ze mam pytanie bo za wtykami zeby podłaczyć do tego modułu centralny i alarm wychodzi jeszcze kabelek z przyciskiem sadze ze jest on do kasowania błedów servisowych czy cos podobnego i tam sa jeszcze dwa grubsze kabelki czarne ale do czego sa to juz nie wiem:(. Rozumie ze w takim razie najlepiej podłaczyć biały i żółty pod akumulator a zielony i niebieski pod centralke ??
  • #7 3629929
    xwit
    Poziom 33  
    Wiesz co?Piszesz bzdury.Jedź z tym gdzieś niech ci podłączą bo jeszcze spalisz samochód.A tak jak piszesz to spalisz centralę.Tam jest tak napisane,że nic juz nie można dodać!!!
REKLAMA