logo elektroda
logo elektroda
X
logo elektroda
REKLAMA
REKLAMA
Adblock/uBlockOrigin/AdGuard mogą powodować znikanie niektórych postów z powodu nowej reguły.

prestige_aps_250s - nie działa centralny zamek

Paweł ck 28 Cze 2007 23:08 1698 3
REKLAMA
  • #1 4031354
    Paweł ck
    Poziom 11  
    Witam wszystkich
    Mam taki problem alarm dziala tak jak powinien wszystko jest ok tylko nie zamyka drzwi.
    Jakby był przecięty (nie łączył) kabel w drzwiach czy moglo by się tak dziac, czy alarm by wył?
    Co się tam mogło popsuć - jakiś przekaźnik :)?
  • REKLAMA
  • #2 4031588
    solecki.m
    Poziom 26  
    Z boku centrali masz białą wtyczkę z przewodami, zielonym i czerwonym bodajże.
    Sprawdź na nich sygnały podczas załączania alarmu.
    Na jednym z nich powinna pojawiać sie masa.
  • REKLAMA
  • #3 4033476
    Paweł ck
    Poziom 11  
    Właśnie rozebrałem alarm i sprawdziłem ta białą wtyczkę - gdy włanczam z pilota alarm to pokazuje mi się napięcie ok 10V gdy drugi raz nacisne to -10V

    Dodano po 3 [minuty]:

    Czyli centralka jest dobra?

    Dodano po 11 [minuty]:

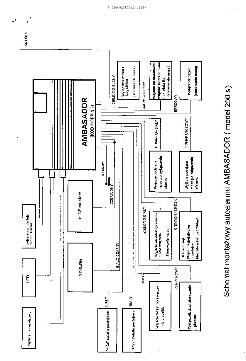
    schemat:

    prestige_aps_250s - nie działa centralny zamek

    Dodano po 10 [minuty]:

    Dodam że w module centralnego zamka pyka jak włanczam i wyłanczam alarm to nie wiem czy jest dobry czy nie
    Dlaczego nie dziala ten centralny zamek?

    Dodano po 2 [minuty]:

    Nie znam sie na tym
    może w drzwiach cos nie lączy ?

    Dodano po 4 [minuty]:

    rozebrałem drzwi jak sprawdzić ten centralny zamek?
  • #4 4042568
    Paweł ck
    Poziom 11  
    sprawdziłem
    wszystkie silniczki w zamkach sie spaliły
    teraz tylko wymiana :)
    a czemu sie spaliły to nie wiem
REKLAMA