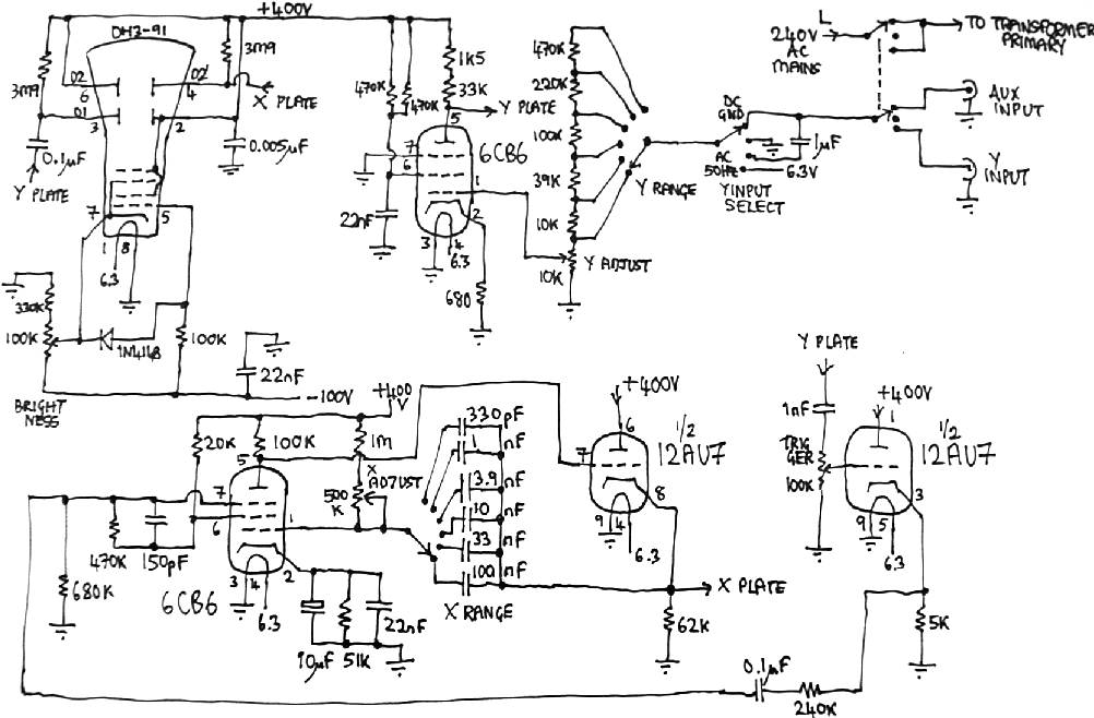
Ten oscyloskop wykorzystuje Mullarda DH3-91 CRT, co pozwoliło stworzyć wyjątkowo małe i efektownie wyglądające urządzenie. Całkowite wymiary obudowy wynoszą zaledwie 64 x 83 x 83mm.
Schematy są oczywiście zamieszczone poniżej.
Najwięcej problemów sprawiło samo źródło zasilania. Aby urządzenie działało poprawnie należało zaprojektować i wykonać źródło dające napięcia +400V i -100V. Autor projektu zdecydował się na wykonanie własnego toroidalnego transformatora, dzięki czemu uzyskał potrzebne wartości napięć. Dodatkowym atutem transformatora toroidalnego było o wiele mniejsze pole magnetyczne wytwarzane przez niego w porównaniu z innymi rozwiązaniami. Dzięki temu można było umieścić go stosunkowo blisko CRT bez wprowadzania żadnych zakłóceń.
Jeśli chodzi o sam aspekt techniczny urządzenia i jego możliwości, to nie jest to jednak raczej gadżet niż urządzenie pomiarowe, pozwalający oglądać kształt obserwowanych sygnałów.
źródło http://www.hanssummers.com/electronics/equipment/tinyscope/index.htm
Przeniosłem z Konstrukcje DIY. [c_p]
Fajne? Ranking DIY


