logo elektroda
logo elektroda
X
logo elektroda
REKLAMA
REKLAMA
Adblock/uBlockOrigin/AdGuard mogą powodować znikanie niektórych postów z powodu nowej reguły.

interfejs na MAX232 - problem z podlaczeniem

michu82 01 Lut 2008 03:53 6710 6
REKLAMA
  • #1 4757744
    michu82
    Poziom 14  
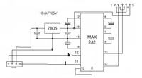
    witam. zabralem sie za zrobienie sobie interfejsu do lpg.
    robilem to wedlug 3 schematow (wklejam ponizej)
    interfejs na MAX232 - problem z podlaczeniem
    potem ten
    interfejs na MAX232 - problem z podlaczeniem
    i na koniec ten
    interfejs na MAX232 - problem z podlaczeniem

    problem w tym ze w zandej z tych konfiguracji nie mam napiecia na wtyczce do centralki lpg. ktory z tych schematow jest w 100% wlasciwy. wklejalem je w kolejnosci w jakich je uzywalem. od razu po podlaczeniu pod port rs232 powinno byc napiecie na wtyczce lpg? napiecie wejsciowe z PC mam 11,6V. czy ja cos zle robie? prosze o pomoc.
  • REKLAMA
  • #2 4757966
    Zdzicho
    Poziom 25  
    Interfejs masz zasilany z lpg. Będzie działał po podłączeniu do auta. Ostatnia versja najbardzej czytena i tej się trzymaj. Powodzenia
  • REKLAMA
  • #3 4758147
    Arek1984
    Poziom 16  
    Tak jak napisał Zdzicho, interfejsy chyba nigdy nie są zasilane z komputera tylko z samochodu.
  • REKLAMA
  • #4 4758335
    michu82
    Poziom 14  
    no ok. moj blad. ale czy da sie sprawdzic jego sprawnosc bez koniecznosci podlaczania sie do auta? w ktoryms z postow czytalem ze mozna to sprawdzic Vag-com- em. i jest jeszcze taki programik ktorego nazwy nie znam ale testuje poprawnosc interfejsu za pomoca klawiatury (klikasz jakiekolwiek znaki a na monitorze nie moga pojawiac sie bledy). czy to jest wiarygodne? i rozumiem ze musilabym podlaczyc jakies zasilanie pod wtyczke?
    no wiec podlaczylem na wtyczke do lpg +12V i po uruchomieniu Vag-com i wybraniu opcji test na porcie com1 wyswietla: interface: nie wykryto.
    wszystko zbudowane na podstawie tego ostatniego schematu.
  • #5 4759177
    PiotrT
    Poziom 19  
    Inny program do sprawdzania interefejsu a dokładnie jego echa to OBD tester.Działa dosyć dobrze.
  • REKLAMA
  • #6 4759907
    michu82
    Poziom 14  
    witam ponownie. problem juz rozwiazany. interfejs chodzi. co zmienilem? zastosowalem polaczenia wedlug ostatniego schematu podstawiajac wszedzie kondensaotry 10mikro zostawiajac oryginalnie tylko tego 100nF. po tym zabiegu kabelek chodzi. dzieki za pomoc i pozdr.
  • #7 11624067
    Alfred_92
    Poziom 33  
    Przepraszam że odkopuję, ale złożyłem sobie układ na max232 (http://slacklist.olek.waw.pl/smietnik/OBD2/img/schemat.jpg) i przy sprawdzaniu programem OBD.exe nawiązuję komunikację, ale znaki wyświetlane w polu tekstowym są inne niż wprowadzane z klawiatury (np naciskam L a wyświetla się H). Czy takie zachowanie świadczy o błędach w schemacie? Zauważyłem że we wtyczce OBD ze schematu zamienione są ze sobą piny 16 i 4, bo na schemacie 4 idzie do zasilania a w rzeczywistości pi 4 to masa. Czy do sprawdzania echa potrzebne jest podłączenie zasilania 12V od strony gniazda OBD?


    Poradziłem sobie już z błędnym wyświetlaniem treści w programie testującym ten interfejs, dla potomnych dodam że do poprawnego testowania interfejsu trzeba do niego podłączyć zasilanie od strony wtyczki OBD.
REKLAMA