AA mają pojemności od 400mAh (takie raczej trudno znaleźć, miałem, ale nie wiem, gdzie zapodziałem)
do około 3000mAh (2400 są na pewno, a czy są większe, czy to tylko fałszywki, to nie wiem).
C/10 to 10 razy mniej, czyli od 40mA do 300mA - ale nie ma co się bawić w aptekę, sprawny akumulatorek AAA
(o ile to nie są jakieś starocie, które nie były przystosowane do szybkiego ładowania) wytrzyma bez problemu
i zmniejszenia trwałości ładowanie prądem C/2, a nawet większym, jeśli to jest NiCd; NiMH mają pojemności
ponad 1000mAh, i C/4 to dla nich nie będzie za dużo, więc 250mA żadnemu nie powinno zaszkodzić.
Ale jak masz NiCd o pojemnościach ponad 800mAh, albo NiMH ponad 1600mAh, to można ładować 400-500mA.
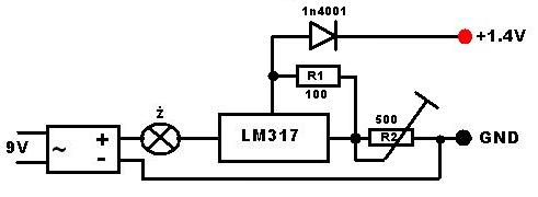
Dużo ważniejsze jest napięcie: jak pozwolisz na dłuższe ładowanie po przekroczeniu napięcia około 1.42V, to
każdy akumulator można tym zniszczyć, choćby prąd był i mniejszy od C/10 - bezpieczny jest C/300.

Jerzy Węglorz - nie podawaj danych od akumulatorów sprzed parudziesięciu lat, są już nieaktualne;
konstrukcję akumulatorów od tego czasu zmieniono, a prąd C/10 wcale nie był bezpieczny - mógł uchodzić
za taki, jak akumulatory wytrzymywały parędziesiąt cykli ładowania, a dzisiejsze mogą wytrzymać tysiące.