Chciałbym złożyc kolumny podłogowe. Poczytałem troche i w WINISD dobrałem pojemności. Zwrotniece zrobie w oparciu o Speaker Workshop gdy bedę miał głośniki. Chciałbym się dowiedzieć czy dobrałem dobre głośniki i czy obudowa jest prawidłowo zaprojektowana, może proponujecie jakieś inneg rozwiązania ?
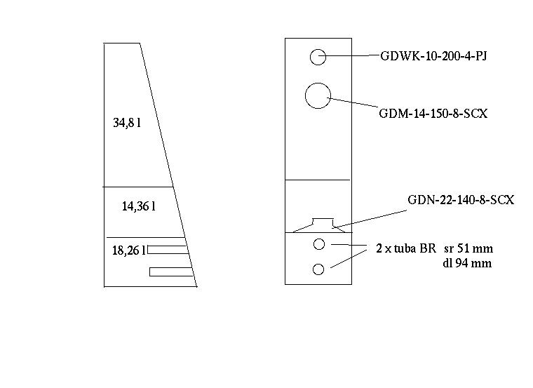
zamieszczam roboczny schemat.

zamieszczam roboczny schemat.

