logo elektroda
logo elektroda
X
logo elektroda
REKLAMA
REKLAMA
Adblock/uBlockOrigin/AdGuard mogą powodować znikanie niektórych postów z powodu nowej reguły.

[Ściemniacz RS-5] Ściemniacz dotykowy RS-5 nie wyłącza światła, działa nieprawidłowo

Trabi 05 Paź 2010 20:32 7778 5
REKLAMA
  • #1 8587467
    Trabi
    Poziom 36  
    Posty: 4567
    Pomógł: 169
    Ocena: 790
    Witam.

    Mam polski ściemniacz dotykowy do zamontowania w ścianie - RS-5, 40...400W. Niby wszystko OK, ściemnia, rozjaśnia, włącza i wyłącza. Ale już drugi raz mi się zdarzyło, że w pewnym momencie nie daje się wyłączyć. Jedno dotknięcie ściemnia go jakieś 50% a drugie włącza na full. Zamiast zgaszenia świateł właśnie ściemnia do tych 50%. Jak wyłączę zasilanie (wykręcę bezpieczniki), to po jakimś czasie zaczyna działać normalnie; aż do kolejnego takiego zachowania (2x w ciągu 5 dni). Dziś zauważyłem też, że gdy pokrętło było na max, dotknięcie sensora i przytrzymanie na nim palca powodowało miganie żarówki. Odjęcie palca i zapalała się normalnie. Gasiła się też bez problemu. Ale znów raz (na stole) zrobiła ten sam numer ze ściemnieniem: zgaszenie to 50% światła, włączenie to 100%; bez możliwości całkowitego zgaszenia. (wczoraj musiałem przed spaniem go zdemontować, bo przy świetle spać przecież nie będę )
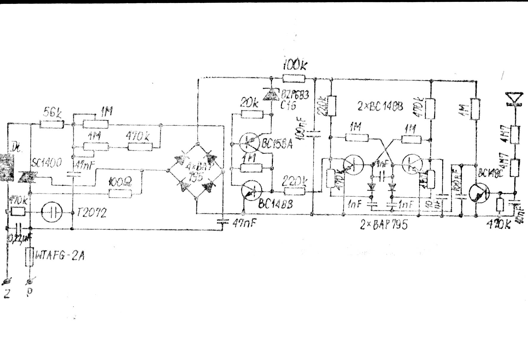
    Powymieniałem w nim wszystkie tranzystorki (1xBC158 i 4xBC148), reszta wygląda w porządku. Czyżby triak (tyrystor) siadał? Nie mam do tego schematu - błądzę na ślepo. Może ktoś się z takim zetknął?

    [Ściemniacz RS-5] Ściemniacz dotykowy RS-5 nie wyłącza światła, działa nieprawidłowo [Ściemniacz RS-5] Ściemniacz dotykowy RS-5 nie wyłącza światła, działa nieprawidłowo [Ściemniacz RS-5] Ściemniacz dotykowy RS-5 nie wyłącza światła, działa nieprawidłowo [Ściemniacz RS-5] Ściemniacz dotykowy RS-5 nie wyłącza światła, działa nieprawidłowo

    Proszę o przeniesienie do działu "Inny...".
    Dziękuję za przeniesienie.
  • REKLAMA
  • Pomocny post
    #2 8588059
    Konto nie istnieje
    Konto nie istnieje  
  • REKLAMA
  • #3 8588109
    Trabi
    Poziom 36  
    Posty: 4567
    Pomógł: 169
    Ocena: 790
    Dzięki za schemat. przyda się na pewno.
    Tak, podłączenie gra rolę ("P" pod fazę), ale przy odwrotnym podłączeniu ściemniacz po prostu nie działa. Więc to ne to jest powodem takiego a nie innego zachowania. Zobaczę jutro co to za triak/tyrystor tam siedzi. Doszukałem się już, że jeśli KT207, to on może być przyczyną. Zobaczę, ew. podmienię na co innego i dam znać.
    Dzięki za chęć sprezentowania :) . Chciał bym jednak tego naprawić, bo nic tak nie cieszy jak własnoręczne doprowadzenie do ładu i działania starego urządzenia :) .
  • REKLAMA
  • #4 8588364
    Konto nie istnieje
    Konto nie istnieje  
  • REKLAMA
  • #5 8588649
    Trabi
    Poziom 36  
    Posty: 4567
    Pomógł: 169
    Ocena: 790
    Jednak siedział tu KT207. Wymieniłem go na BT138-500. Póki co, działa poprawnie. PR-ek od minimalnego świecenia mam ustawiony na ledwo-ledwo świecenie (a właściwie na żarzenie), ale całość nie wariuje z tego powodu.
    [Ściemniacz RS-5] Ściemniacz dotykowy RS-5 nie wyłącza światła, działa nieprawidłowo

    A jeszcze dwa pytania:
    1. co wydaje z siebie przydźwięk w tym ściemniaczu gdy światło jest przygaszone? Słychać to zwłaszcza w środkowym przedziale regulacji. Dławik? Da się go jakoś uspokoić?
    2 Kiedyś widziałem podobny ściemniacz, ale miał możliwość reagowania na pilota (na górze miał okienko IR). Co to był za typ? Może ktoś wie?
  • #6 8600638
    Trabi
    Poziom 36  
    Posty: 4567
    Pomógł: 169
    Ocena: 790
    Wygląda, że po wymianie KT na BT ściemniacz działa poprawnie. Nawet sie mniej grzeje :) . Temat zamykam, jako że chyba wszystko OK.
    Dzięki.
REKLAMA