logo elektroda
logo elektroda
X
logo elektroda
REKLAMA
REKLAMA
Adblock/uBlockOrigin/AdGuard mogą powodować znikanie niektórych postów z powodu nowej reguły.

Caddy 2004 2.0 SDI - migająca kontrolka świec, błędy P0321 i P0322

aaaajazda 07 Maj 2012 17:30 7241 4
REKLAMA
  • #1 10871048
    aaaajazda
    Poziom 2  
    Witam.
    W Caddy 2.0 SDI 51kW miga kontrolka świec żarowych i ciężko odpala, pali dopiero po długim kręceniu. Na kompie podczas kręcenia rozrusznikiem pokazało błąd P0321 a jak odpalił P0322. Jak już odpali to normalnie pracuje, wchodzi na obroty itd. ale kontrolka świec miga.

    Może miał ktoś taki przypadek.

    Z góry dziękuję za odpowiedź i pozdrawiam.
  • REKLAMA
  • #2 10883228
    Hans30
    Poziom 28  
    Co sprawdziłeś samemu?
    opis błędów :
    P0321 - uszkodzony Czujnik prędkości wału
    P0322 - Czujnik G28 obrotów silnika, brak sygnału.
  • REKLAMA
  • #3 10883631
    aaaajazda
    Poziom 2  
    Okazały się kabelki z czujnika G28.
    Polutowane i auto pali na dotyk.

    Temat można zamknąć
    Pozdrawiam
  • REKLAMA
  • #4 11245219
    Ówek
    Poziom 1  
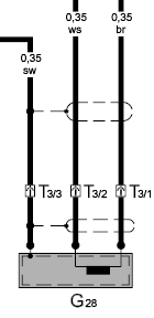
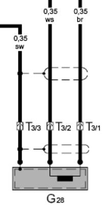
    witam mam pytanie poniewaz pewien mechanik podczas wkładania skrzyni biegów wyrwał kable z wtyczki czujnika wału i czy jest taka możliwość abyś przesłał mi kolejność tych przewodów według koloru
  • #5 11245764
    enauto
    Poziom 29  
    powinno być tak

    Caddy 2004 2.0 SDI - migająca kontrolka świec, błędy P0321 i P0322
REKLAMA